Operation CHARM: Car repair manuals for everyone.
Manuals through 2025 now available!

Our trusted friends have launched a new website named LEMON, which has newer manuals. It also contains all the CHARM manuals.

LEMON is the spiritual successor to CHARM, I recommend you try it!

Link: lemon-manuals.la or lemon-manuals.org.ua

(Some people have issue connecting. LEMON is investigating. For now, use Firefox or change your DNS server)

Or, hide this message: temporarily or permanently

Engine Support Fixture




Engine Support Fixture

Special Tools

J 28467-81 - Engine Support Fixture Kit

Installation Procedure

1. Remove the engine cover. Refer to Intake Manifold Cover Replacement - Rear (Intake Manifold Cover Replacement - Rear).




2. Use a grade 10.9, M10 X 1.5 X 35 bolt, GM P/N 11519182 or equivalent, in order to install an engine lift bracket (OTC #7100, J 36857 or equivalent) to the front of the left cylinder head in the location shown.
3. Support the hood and remove the hood support strut.




4. Reposition the passenger side wire harness (1) to provide clearance for support fixture leg.




5. Assemble a J 28467-501 - support leg (1) to each end of the J 28467-518 - main bar (2).




6. Position the main bar (1) with the support legs over each shock tower. Ensure the rear support legs are located over the reinforced section of the shock tower.




7. Install the J 28467-7A - lift hook through the J 28467-6A - lift hook bracket.
8. Install the 1/2 inch lift hook washer and the J 28467-34 - handle onto the J 28467-7A - lift hook.




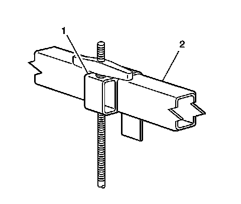
9. Install the J 28467-6A - assembled lift hook bracket (1) over the J 28467-16 - main bar (2).
10. Adjust the J 28467-6A - assembled lift hook bracket (1) in order to align the hook with the J 41798 - engine bracket.
11. Repeat steps 8-11 for the right lift hook.
12. Hand-tighten the lift hook wing nuts securely to remove all slack from the engine support fixture assembly.
13. The engine is now supported in the vehicle to perform repairs that require front frame removal.

Removal Procedure

1. Loosen and remove the J 28467-81 Engine Support Fixture Kit.




2. Remove the J 28467-81 - kit (1)J 28467-81.




3. Remove the Engine Brackets from the cylinder heads.
4. Install the hood support strut.
5. Install the engine cover. Refer to Intake Manifold Cover Replacement - Rear (Intake Manifold Cover Replacement - Rear).