Operation CHARM: Car repair manuals for everyone.
Manuals through 2025 now available!

Our trusted friends have launched a new website named LEMON, which has newer manuals. It also contains all the CHARM manuals.

LEMON is the spiritual successor to CHARM, I recommend you try it!

Link: lemon-manuals.la or lemon-manuals.org.ua

(Some people have issue connecting. LEMON is investigating. For now, use Firefox or change your DNS server)

Or, hide this message: temporarily or permanently

Door Component Views




Door Component Views

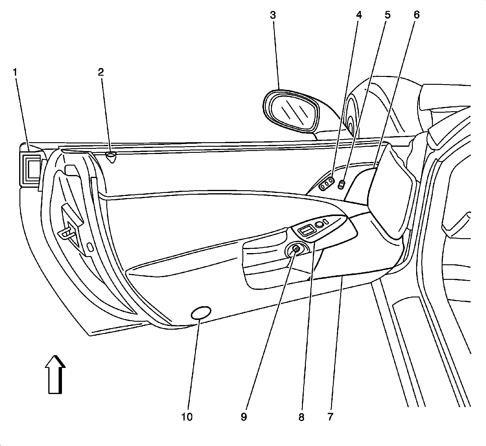
Driver Door Components




1 - Door Handle Switch - Driver Exterior
2 - Door Lock Indicator - Driver
3 - Outside Rearview Mirror - Driver
4 - Memory Seat Adjuster Switch - Driver (AAB)
5 - Door Lock Switch - Driver
6 - Speaker - Left Front
7 - Speaker - Left Subwoofer
8 - Window Switch - Driver
9 - Door Handle Switch - Driver Interior
10 - Door Reflector (if equipped)

Passenger Door Components




1 - Door Lock Switch - Passenger
2 - Outside Rearview Mirror - Passenger
3 - Door Lock Indicator - Passenger
4 - Door Handle Switch - Passenger Exterior
5 - Door Reflector (if equipped)
6 - Window Switch - Passenger
7 - Door Handle Switch - Passenger Interior
8 - Speaker - Right Subwoofer
9 - Speaker - Right Front

Door Latches




1 - Door Latch - Passenger
2 - Door Latch - Driver