Operation CHARM: Car repair manuals for everyone.
Manuals through 2025 now available!

Our trusted friends have launched a new website named LEMON, which has newer manuals. It also contains all the CHARM manuals.

LEMON is the spiritual successor to CHARM, I recommend you try it!

Link: lemon-manuals.la or lemon-manuals.org.ua

(Some people have issue connecting. LEMON is investigating. For now, use Firefox or change your DNS server)

Or, hide this message: temporarily or permanently

Instrument Panel/Center Console Component Views




Instrument Panel/Center Console Component Views

Instrument Panel and Center Console Components




1 - Head Up Display (HUD) (UV6)
2 - Driver Information Center (DIC) Switch
3 - Sunload Sensor
4 - Hazard Warning Switch
5 - Radio
6 - HVAC Control Module
7 - Inflatable Restraint I/P Module
8 - I/P Compartment Lamp
9 - Heated Seat Switch - Passenger (KA1)
10 - Suspension Control Switch (F55)
11 - Accessory Power Outlet
12 - Traction Control Switch (TCS)
13 - Cigar Lighter
14 - Heated Seat Switch - Driver (KA1)
15 - Noise Compensation Microphone (U65)
16 - Ignition Mode Switch
17 - Air Temperature Sensor - Inside
18 - Inflatable Restraint Steering Wheel Module
19 - Rear Compartment Lid Release Switch - Interior
20 - Fuel Door Release Switch
21 - I/P Dimmer Switch
22 - Folding Top Control Switch (CM7)
23 - Head Up Display (HUD) Switch (UV6)
24 - Instrument Panel Cluster (IPC)

Floor Shift Assembly (MYC)




1 - Automatic Transmission Shift Lever
2 - Automatic Transmission Shift Lock Control Solenoid
3 - Automatic Transmission Shift Lever Position Indicator

Instrument Panel and Overhead Lamps




1 - Vanity Mirror Lamp - Left
2 - Courtesy/Reading Lamps - Left Front/Right Front
3 - Vanity Mirror Lamp - Right
4 - I/P Compartment Lamp
5 - I/P Courtesy Lamp - Right
6 - I/P Courtesy Lamp - Left

Behind the Center of the Instrument Panel Components




1 - Inflatable Restraint Sensing and Diagnostic Module (SDM)
2 - Yaw and Lateral Accelerometer Sensor

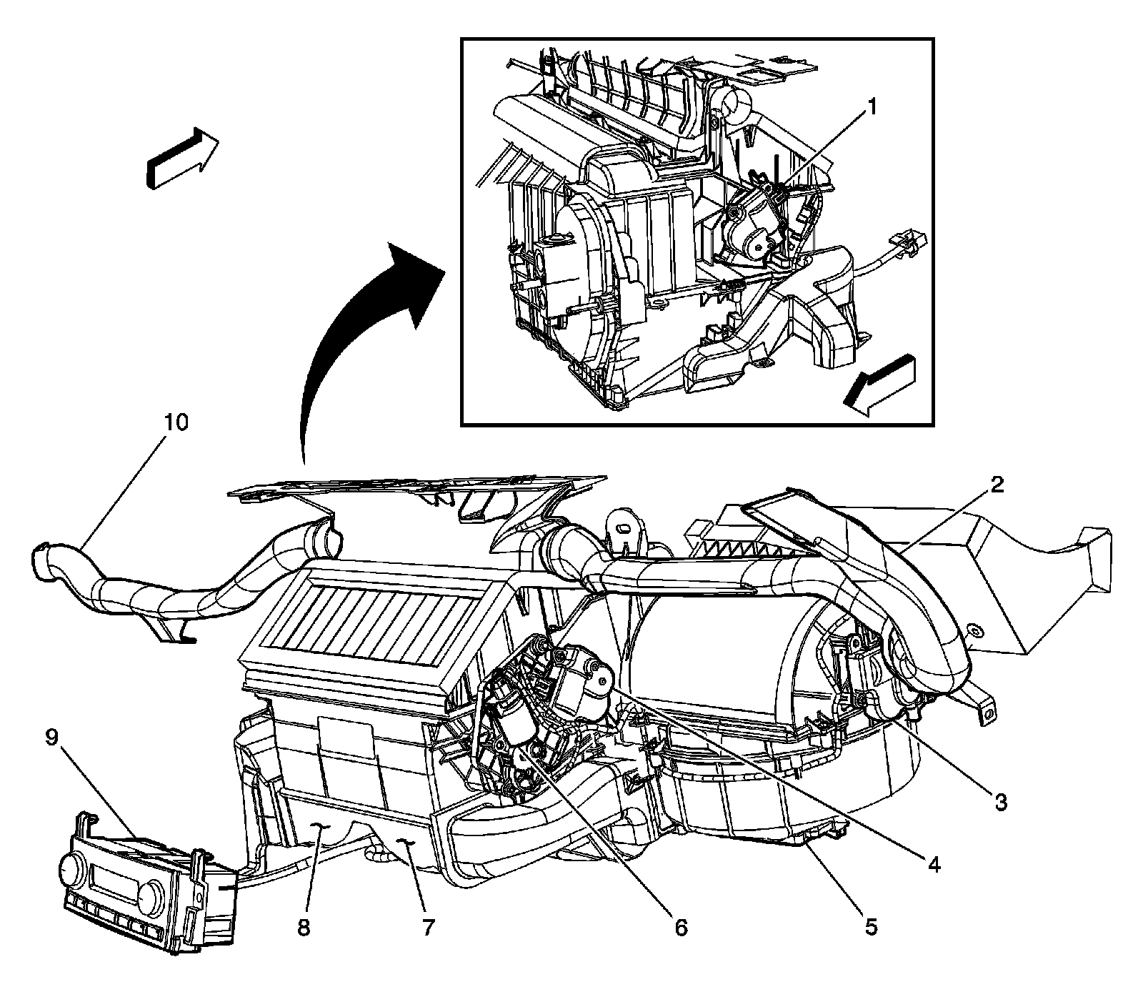
Behind the Instrument Panel Components - HVAC Module




1 - Air Temperature Actuator - Left
2 - Air Temperature Sensor - Upper Right
3 - Recirculation Actuator
4 - Air Temperature Actuator - Right
5 - Blower Motor and Blower Motor Control Module
6 - Mode Actuator
7 - Air Temperature Sensor - Lower Right
8 - Air Temperature Sensor - Lower Left
9 - HVAC Control Module
10 - Air Temperature Sensor - Upper Left

Left Side of Instrument Panel Components




1 - Brake Pedal Position (BPP) Sensor
2 - Accelerator Pedal Position (APP) Sensor
3 - Sunload Sensor
4 - Windshield Wiper/Washer Switch
5 - Turn Signal/Multifunction Switch
6 - Clutch Pedal Position (CPP) Sensor (MM6/MZ6/MN6)

Lower Left of Instrument Panel Components




1 - Inflatable Restraint Steering Wheel Module Coil
2 - Data Link Connector (DLC)

Right Side of Instrument Panel Components




1 - Remote Control Door Lock Receiver (RCDLR)
2 - I/P Compartment
3 - Keyless Entry Antenna - Backup

Steering Column Components




1 - Steering Column Lock Control Module (ULS)
2 - Steering Column Telescope Switch (N37/NP7)
3 - Steering Wheel Tilt Lever
4 - Steering Column Telescope Motor (N37/NP7)
5 - Variable Effort Steering Actuator
6 - Variable Effort Steering Actuator Connector
7 - Power Steering Fluid Reservoir
8 - Power Steering Pump

Steering Wheel Components (1 of 2)




1 - Steering Wheel Control Switch - Left (UPF)
2 - Automatic Transmission Manual Shift Switch - Left (MYC)
3 - Automatic Transmission Manual Shift Switch - Right (MYC)
4 - Steering Wheel Control Switch - Right (UK3)
5 - Inflatable Restraint Steering Wheel Module

Steering Wheel Components (2 of 2)




1 - Horn Switch
2 - Inflatable Restraint Steering Wheel Module Coil
3 - Horn Switch

Cellular Communication Components




1 - Vehicle Communication Interface Module (VCIM) (UE1)/Traffic Information Receiver (U3Z)
2 - Cellular Telephone Microphone (UE1)/Voice Recognition Microphone (without UE1)
3 - Inside Rearview Mirror (ISRVM)
4 - Cellular and Navigation Antenna (UE1)
5 - Radio
6 - Noise Compensation Microphone (U65)
7 - Fuel Door Release Switch