Operation CHARM: Car repair manuals for everyone.
Manuals through 2025 now available!

Our trusted friends have launched a new website named LEMON, which has newer manuals. It also contains all the CHARM manuals.

LEMON is the spiritual successor to CHARM, I recommend you try it!

Link: lemon-manuals.la or lemon-manuals.org.ua

(Some people have issue connecting. LEMON is investigating. For now, use Firefox or change your DNS server)

Or, hide this message: temporarily or permanently

Passenger Compartment/Roof Component Views




Passenger Compartment/Roof Component Views

Left Sunshade Component




1 - Garage Door Opener (GDO) (UG1)

Instrument Panel and Headliner Components (UA2)




1 - Intrusion Sensor Defeat Switch
2 - Intrusion Sensor
3 - Windshield

Inside Rearview Mirror Components




1 - Inside Rearview Mirror (ISRVM)
2 - Mirror Display
3 - OnStar Button Assembly

Entertainment Components




1 - Speaker - Center I/P
2 - Radio
3 - Windshield Frame
4 - Vehicle Communication Interface Module (VCIM) (UE1)
5 - Speaker - Right Subwoofer
6 - Speaker - Right Front
7 - Audio Amplifier
8 - Speaker - Right Rear (without C05/CM7)
9 - Speaker - Right Rear (C05/CM7)
10 - Speaker - Left Rear (C05/CM7)
11 - Digital Radio Receiver (except C05/CM7 with U2K)
12 - Speaker - Left Rear (without C05/CM7)
13 - Speaker - Left Subwoofer
14 - Speaker - Left Front
15 - Cellular Telephone Microphone (UE1)/Voice Recognition Microphone (without UE1)

Antennas and Antenna Modules




1 - Cellular and Navigation Antenna (UE1)
2 - Vehicle Communication Interface Module (VCIM) (UE1)
3 - Radio Antenna Module - Case Ground
4 - Radio Antenna Module - Right (C05/CM7)
5 - Radio Antenna Module - Left (except C05/CM7)
6 - Antenna (C05/CM7)
7 - Antenna (except C05/CM7)
8 - Antenna Ground
9 - Radio Antenna Module - Right (except C05/CM7)
10 - Theft Deterrent Alarm Siren (UA2)
11 - Digital Radio Receiver (except C05/CM7 with U2K)
12 - Digital Radio Receiver (C05/CM7 with U2K)
13 - Navigation Antenna (U3U)

Driver Seat Components




1 - Inflatable Restraint Seat Position Sensor - Driver
2 - Seat Rear Vertical Motor - Driver
3 - Seat Rear Vertical Motor Position Sensor - Driver (AAB)
4 - Seat Front Vertical Motor - Driver (AAB)
5 - Seat Front Vertical Motor Position Sensor - Driver (AAB)
6 - Memory Seat Module - Driver (AAB)
7 - Heated Seat Control Module - Driver (KA1)
8 - Seat Horizontal Motor Position Sensor - Driver (AAB)
9 - Seat Horizontal Motor - Driver
10 - Inflatable Restraint Side Impact Module - Left
11 - Seat Lumbar Adjuster Switch - Driver
12 - Seat Adjuster Switch - Driver
13 - Seat Belt Pretensioner - Driver

Passenger Seat Components




1 - Seat Front Vertical Motor - Passenger (AG2)
2 - Seat Rear Vertical Motor - Passenger (AG2)
3 - Inflatable Restraint Seat Position Sensor - Passenger
4 - Inflatable Restraint Front Passenger Presence System (PPS) Module
5 - Heated Seat Control Module - Passenger (KA1)
6 - Seat Horizontal Motor - Passenger (AG2)
7 - Seat Belt Pretensioner - Passenger
8 - Heated Seat Element - Passenger Cushion
9 - Seat Adjuster Switch - Passenger
10 - Seat Lumbar Switch - Passenger
11 - Inflatable Restraint Side Impact Module - Right

Folding Top Components (CM7)




1 - Folding Top Cover Actuator
2 - Folding Top Stowage Compartment Lid Latch Pulldown Actuator

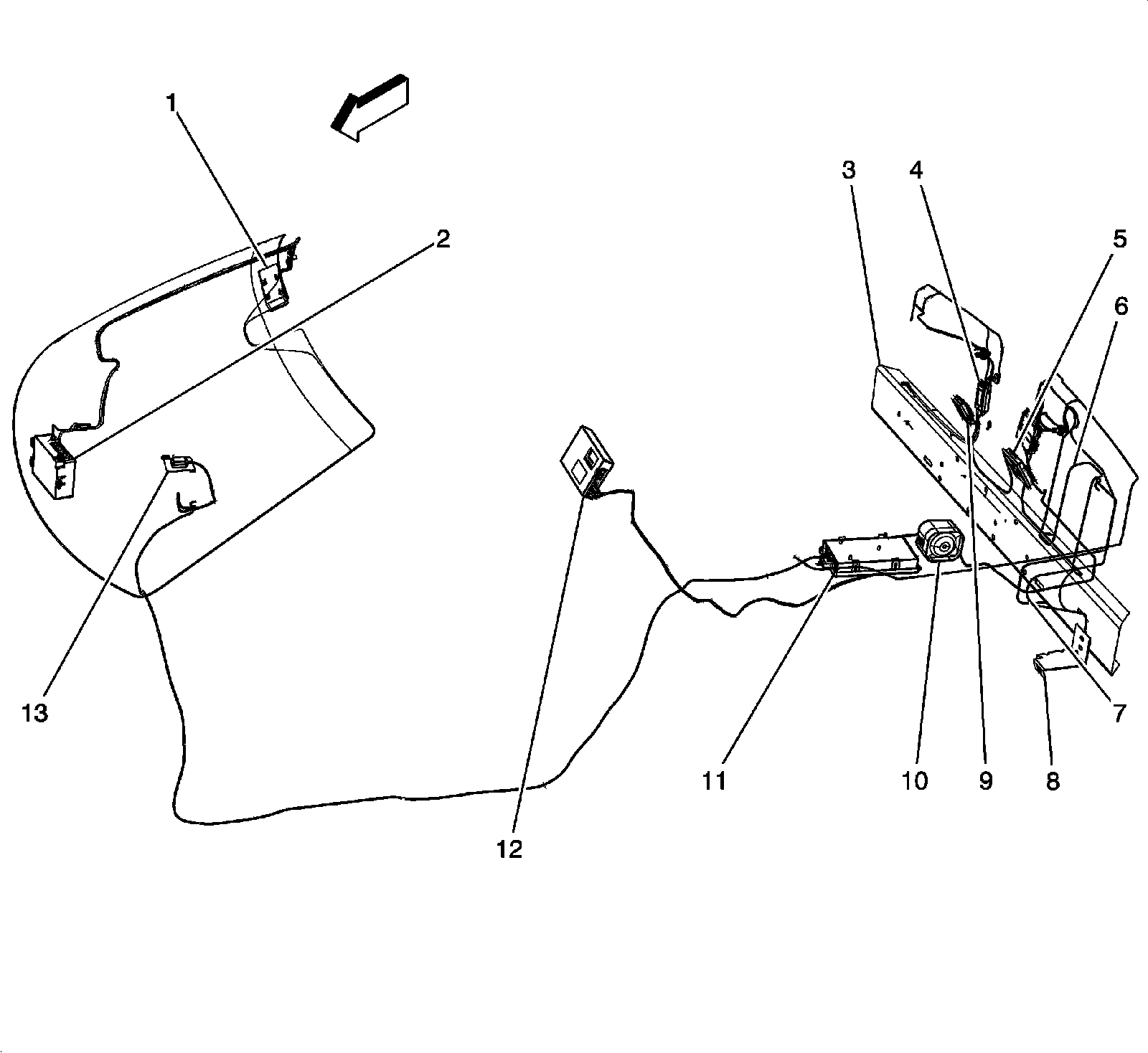
Folding Top Components (CM7) 1 of 2




1 - Folding Top Cover
2 - Folding Top Pump/Motor Assembly
3 - Folding Top Luggage Barrier Switch

Folding Top Components (CM7) 2 of 2




1 - Folding Top Closed Position Switch
2 - Folding Top 5 Bow Lowered Switch
3 - Folding Top 5 Bow Raised Switch
4 - Folding Top Open Position Switch

Rear Window Components (C05 or CM7)




1 - Folding Top - Manual (C05)/Power (CM7)
2 - Rear Window Defogger Grid

Rear Window Components (except C05 or CM7)




1 - Rear Window Defogger Grid
2 - Rear Compartment Lid
3 - Rear Compartment Lid Pulldown Actuator