Operation CHARM: Car repair manuals for everyone.
Manuals through 2025 now available!

Our trusted friends have launched a new website named LEMON, which has newer manuals. It also contains all the CHARM manuals.

LEMON is the spiritual successor to CHARM, I recommend you try it!

Link: lemon-manuals.la or lemon-manuals.org.ua

(Some people have issue connecting. LEMON is investigating. For now, use Firefox or change your DNS server)

Or, hide this message: temporarily or permanently

Wheels/Vehicle Underbody Component Views




Wheels/Vehicle Underbody Component Views

Fuel Tank Components




1 - Fuel Tank - Primary
2 - Fuel Tank - Secondary
3 - Evaporative Emission (EVAP) Canister Vent Solenoid Valve
4 - Fuel Tank Pressure (FTP) Sensor
5 - Fuel Level Sensor - Secondary
6 - Fuel Pump and Sender Assembly
7 - Fuel Level Sensor - Primary

Fuel System Module (LS9)




1 - Fuel System Control Module Relay
2 - Fuel System Control Module

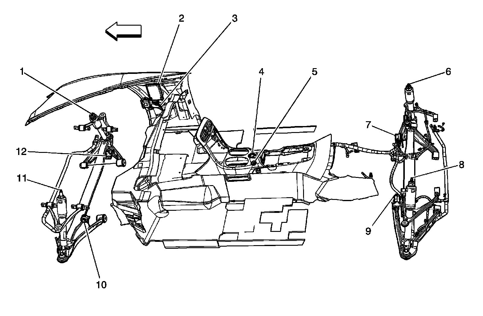
Suspension Components




1 - Shock Absorber Actuator - Right Front (F55)
2 - Suspension Control Module (F55)
3 - Transmission Harness
4 - Suspension Control Switch (F55)
5 - Traction Control Switch (TCS)
6 - Shock Absorber Actuator - Right Rear (F55)
7 - Suspension Position Sensor - Right Rear (FE2)
8 - Shock Absorber Actuator - Left Rear (F55)
9 - Suspension Position Sensor - Left Rear (FE2)
10 - Suspension Position Sensor - Left Front (FE2)
11 - Shock Absorber Actuator - Left Front (F55)
12 - Suspension Position Sensor - Right Front (FE2)

Wheel Components




1 - Wheel Speed Sensor (WSS) - Right Front
2 - Brake Pad Wear Sensor - Right Front (J57)
3 - Wheel Speed Sensor (WSS) - Right Rear
4 - Brake Pad Wear Sensor - Right Rear (J57)
5 - Wheel Speed Sensor (WSS) - Left Front
6 - Brake Pad Wear Sensor - Left Front (J57)
7 - Wheel Speed Sensor (WSS) - Left Rear
8 - Brake Pad Wear Sensor - Left Rear (J57)