Operation CHARM: Car repair manuals for everyone.
Manuals through 2025 now available!

Our trusted friends have launched a new website named LEMON, which has newer manuals. It also contains all the CHARM manuals.

LEMON is the spiritual successor to CHARM, I recommend you try it!

Link: lemon-manuals.la or lemon-manuals.org.ua

(Some people have issue connecting. LEMON is investigating. For now, use Firefox or change your DNS server)

Or, hide this message: temporarily or permanently

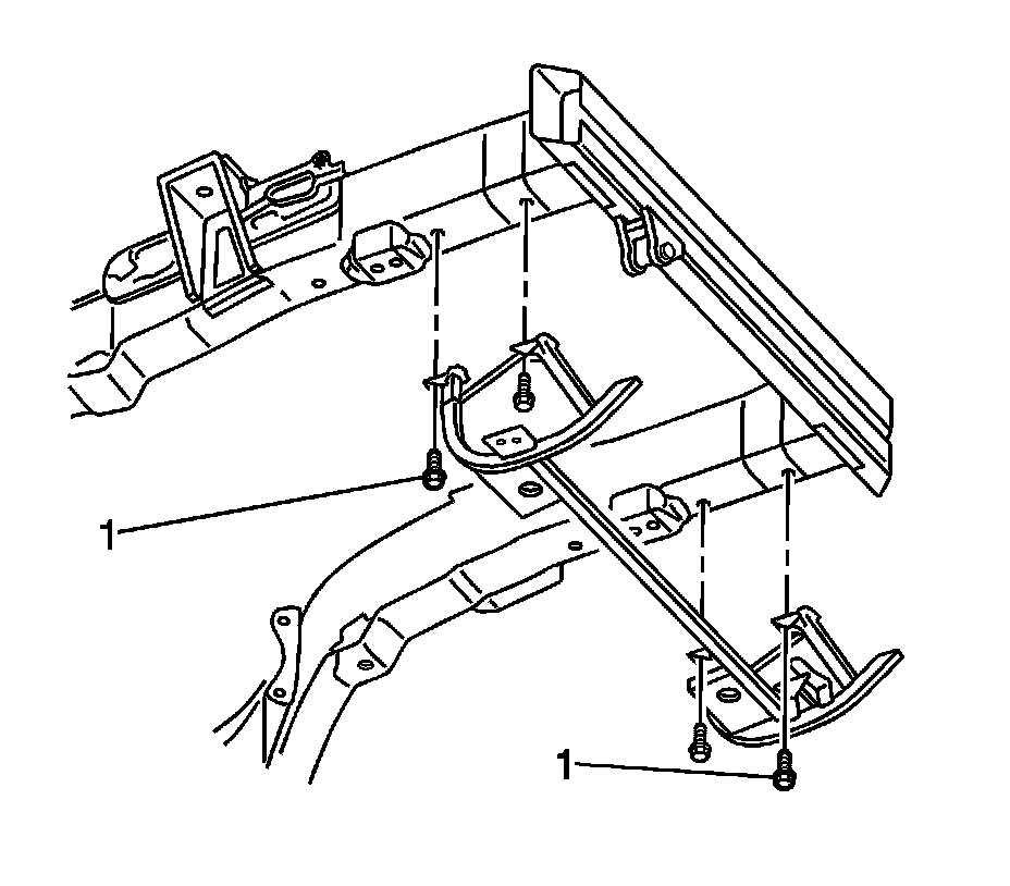
Skid Plate: Service and Repair


Skid Bar Replacement


Removal Procedure

1.Raise and support the vehicle. Refer to Lifting and Jacking the Vehicle .

2.Remove the front fascia. Refer to Front Bumper Fascia Replacement Front Bumper Fascia Replacement .

3.Remove all related panels and components.

4.Support the radiator assembly.

5.Support the skid bar.





6.Remove the 4 bolts (1) attaching the skid bar to the frame rails.

7.Remove the skid bar.

8.Save all of the brackets, mounting studs, and accessories for transfer to the new skid bar.

Installation Procedure

1.Transfer all of the brackets, mounting studs, and accessories to the new skid bar.

2.Position the skid bar to the frame rails.

Caution:Refer to Fastener Caution .





3.Install the 4 bolts (1) attaching the skid bar to the frame rails.

TightenTighten the bolts to 50 N �m (36 lb ft).

4.Install all related panels and components.

5.Install the front fascia. Refer to Front Bumper Fascia Replacement Front Bumper Fascia Replacement .

6.Lower the vehicle.