Operation CHARM: Car repair manuals for everyone.
Manuals through 2025 now available!

Our trusted friends have launched a new website named LEMON, which has newer manuals. It also contains all the CHARM manuals.

LEMON is the spiritual successor to CHARM, I recommend you try it!

Link: lemon-manuals.la or lemon-manuals.org.ua

(Some people have issue connecting. LEMON is investigating. For now, use Firefox or change your DNS server)

Or, hide this message: temporarily or permanently

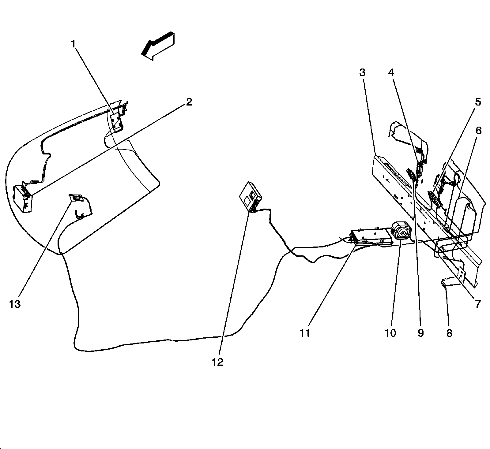
Antenna Control Module: Locations




Passenger Compartment/Roof Component Views

Antennas and Antenna Modules




1 - Cellular and Navigation Antenna (UE1)
2 - Vehicle Communication Interface Module (VCIM) (UE1)
3 - Radio Antenna Module - Case Ground
4 - Radio Antenna Module - Right (C05 or CM7)
5 - Radio Antenna Module - Left (except C05 or CM7)
6 - Antenna (C05 or CM7)
7 - Antenna (except C05 or CM7)
8 - Antenna Ground
9 - Radio Antenna Module - Right (except C05 or CM7)
10 - Theft Deterrent Alarm Siren (UA2)
11 - Digital Radio Receiver (except C05 or CM7 with U2K) / Traffic Information Receiver (except C05 or CM7 with U3Z)
12 - Digital Radio Receiver (C05 or CM7 with U2K) / Traffic Information Receiver (C05 or CM7 with U3Z)
13 - Navigation Antenna (U3U or U3Z)