Operation CHARM: Car repair manuals for everyone.
Manuals through 2025 now available!

Our trusted friends have launched a new website named LEMON, which has newer manuals. It also contains all the CHARM manuals.

LEMON is the spiritual successor to CHARM, I recommend you try it!

Link: lemon-manuals.la or lemon-manuals.org.ua

(Some people have issue connecting. LEMON is investigating. For now, use Firefox or change your DNS server)

Or, hide this message: temporarily or permanently

Engine: Locations




Disassembled Views

Cylinder Head and Components





201 - Exhaust Valve

202 - Intake Valve

203 - Timing Chain Guide Bolt Access Hole

204 - Cylinder Head

205 - Cylinder Head Gallery Plug

206 - Hydraulic Lash Adjuster

207 - Roller Finger Follower

208 - Cylinder Head Bolt

209 - Small Cylinder Head Bolt

210 - Valve Stem Seal

211 - Valve Spring

212 - Valve Spring Retainer

213 - Valve Keys

214 - Hydraulic Lash Adjuster

215 - Roller Finger Follower

216 - lntake Camshaft

219 - Camshaft Cap

220 - Exhaust Camshaft

221 - Camshaft Cap

222 - Camshaft Cap Bolt

300 - Coolant Air Bleed Fitting

413 - Engine Oil Fill Cap

507 - Fuel Injector Rotator Cup

508 - Fuel Injector O-ring

509 - Fuel Injector

510 - Fuel Injector O-ring

511 - Fuel Injector Clip

512 - Fuel Rail

513 - Camshaft Cover Gasket

514 - Camshaft Cover

515 - Camshaft Cover Bolt

707 - Front Lift Bracket Bolt

708 - Front Lift Bracket

709 - Rear Lift Bracket

710 - Rear Lift Bracket Bolt

713 - Fuel Injector Wiring Harness

717 - Spark Plug

718 - Camshaft Position Actuator Solenoid Valve - Exhaust

719 - Camshaft Position Actuator Solenoid Valve - Intake

720 - Camshaft Position Actuator Solenoid Valve Bolt

721 - Ignition Coil

724 - Ignition Coil Bolt

725 - Camshaft Position Sensor

726 - Camshaft Position Sensor Bolt

727 - Camshaft Position Sensor

728 - Camshaft Position Sensor Bolt

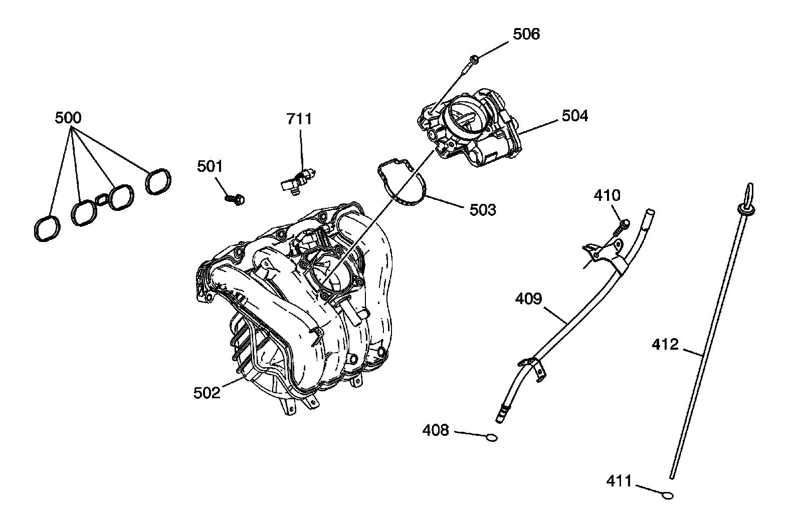
Intake Manifold and Components





408 - Oil Indicator Tube O-ring

409 - Oil Indicator Tube

410 - Oil Indicator Tube Bolt

411 - Oil Indicator O-ring

412 - Oil Indicator

500 - Intake Manifold Gasket

501 - Intake Manifold Bolt

502 - Intake Manifold

503 - Throttle Body Seal

504 - Throttle Body

506 - Throttle Body Bolt

711 - Map Sensor

Exhaust Manifold and Components





1 - Exhaust Manifold Heat Shield Bolt

2 - Exhaust Manifold Heat Shield

3 - Exhaust Manifold Heat Shield Bolt

4 - Secondary Air Injection Assembly Nut

5 - Secondary Air Injection Assembly

6 - Secondary Air Injection Check Stud

7 - Secondary Air Injection Bolt

8 - Secondary Air Injection Pipe Assembly

9 - Secondary Air Injection Stud

10 - Secondary Air Injection Check Valve Gasket

11 - Secondary Air Injection Bolt

12 - Exhaust Manifold Gasket

13 - Exhaust Manifold Stud

14 - Exhaust Manifold

15 - Exhaust Manifold Nut

16 - Oxygen Sensor

17 - Exhaust Manifold Brace Bolt

18 - Exhaust Manifold Brace

19 - Exhaust Manifold Brace Bolt

Engine Block and Components





1 - Water Pump to Engine Block Seal

2 - Water Pump

3 - Water Transfer Pipe O-ring Seals

4 - Water Transfer Pipe

5 - Coolant Temperature Sensor

6 - Thermostat Housing to Block Gasket

7 - Thermostat Housing

8 - Thermostat

9 - Thermostat Gasket

10 - Thermostat Housing Cap Bolt

11 - Thermostat Housing Cap

12 - Water Pipe Support Bracket

13 - Water Pipe Support Bracket Bolt

14 - Water Pipe Support Bracket Bolt Stud

15 - Cylinder Head Gasket

16 - Piston Ring Assembly

17 - Piston Assembly

18 - Connecting Rod

19 - Connecting Rod Cap Bolt

20 - Connecting Rod Bearing

21 - Oil Filter Cap

22 - Oil Filter Cap O-ring

23 - Cylinder Head Alignment Pin

24 - Oil Filter

25 - Engine Block Gallery Plug

26 - Engine Block to Transaxle Alignment Pin

27 - Crankshaft Position Sensor

28 - Crankshaft Position Sensor Bolt

29 - Oil Pressure Switch

30 - Knock Sensor

31 - Crankshaft Bearing - Upper

32 - Crankshaft Rear Seal

33 - Flywheel - Automatic Transmission

34 - Manual Transaxle Flywheel

35 - Manual Transaxle Flywheel Bolt

36 - Automatic Transaxle Flywheel to Crankshaft Bolt

37 - Crankshaft

38 - Crankshaft Bearing - Lower

39 - Lower Crankcase

40 - Engine Oil Pan Alignment Pins

41 - Lower Crankcase Perimeter Bolt

42 - Engine Oil Pan

43 - Air Pump Assembly

44 - Air Pump Assembly Bolt

45 - Air Pump Assembly Bolt

46 - Engine Oil Pan Long Bolt

47 - Engine Oil Pan Bolt

48 - Engine Oil Pan Drain Plug

49 - Lower Crankcase Main Bearing Bolt

50 - Crankshaft Thrust Bearing - Lower

51 - Crankshaft Thrust Bearing - Upper

52 - Piston Oil Nozzle Assembly

53 - Engine Block

54 - Cylinder Bore Sleeve

Timing Chain and Components





123 - Balance Shaft Rear Bearing

124 - Exhaust Balance Shaft

125 - Intake Balance Shaft

126 - Exhaust Balance Shaft Bearing Carrier

127 - Intake Balance Shaft Bearing Carrier

128 - Exhaust Balance Shaft Drive Sprocket

129 - Intake Balance Shaft Drive Sprocket

130 - Balance Shaft Drive Sprocket Bolts

223 - Upper Timing Chain Guide Bolt

224 - Upper Timing Chain Guide

225 - Exhaust Camshaft Position Actuator

226 - Intake Camshaft Position Actuator

227 - Camshaft Position Actuator Bolt

228 - Timing Chain Oil Nozzle

229 - Timing Chain Oil Nozzle Bolt

230 - Timing Chain Drive Sprocket

231 - Fixed Timing Chain Guide

232 - Fixed Timing Chain Guide Bolt

233 - Timing Chain

234 - Timing Chain Tensioner Washer

235 - Timing Chain Tensioner Body

236 - Timing Chain Tensioner O-ring Seal

237 - Timing Chain Tensioner Plunger

238 - Adjustable Timing Chain Guide

239 - Adjustable Timing Chain Guide Bolt

240 - Balance Shaft Drive Sprocket

241 - Balance Shaft Drive Chain Guide

242 - Balance Shaft Drive Chain Guide Bolt

243 - Balance Shaft Drive Chain Guide

244 - Balance Shaft Drive Chain Guide Bolt

245 - Balance Shaft Drive Chain

246 - Balance Shaft Drive Chain Tensioner Assembly

247 - Balance Shaft Drive Chain Tensioner Assembly Bolt

248 - Adjustable Balance Shaft Drive Chain Guide

249 - Adjustable Balance Shaft Drive Chain Guide Bolt

314 - Water Pump Drive Sprocket

315 - Water Pump Drive Sprocket Bolt

316 - Water Pump Bolt

317 - Engine Front Cover Access Plate Gasket

318 - Engine Front Cover Access Plate

319 - Engine Front Cover Access Plate Bolt

414 - Engine Front Cover Alignment Pins

415 - Engine Front Cover Gasket

416 - Oil Pump Cover Bolt

417 - Oil Pump Cover

418 - Oil Pump Outer Gerotor

419 - Oil Pump Inner Gerotor

420 - Engine Front Cover

421 - Engine Front Cover Bolt

422 - Oil Pressure Relief Valve Spring

423 - Oil Pressure Relief Valve Plunger

424 - Oil Pressure Relief Valve O-ring Seal

425 - Oil Pressure Relief Valve Plug

426 - Crankshaft Front Seal

427 - Crankshaft Damper

428 - Crankshaft Damper Bolt

429 - Friction Washer (Some Models)

704 - Belt Tensioner (Some Models)

705 - Belt Tensioner Bolt (Some Models)

722 - Belt Tensioner Bracket (Some Models)

723 - Belt Tensioner Bracket Bolts (Some Models)