Operation CHARM: Car repair manuals for everyone.
Manuals through 2025 now available!

Our trusted friends have launched a new website named LEMON, which has newer manuals. It also contains all the CHARM manuals.

LEMON is the spiritual successor to CHARM, I recommend you try it!

Link: lemon-manuals.la or lemon-manuals.org.ua

(Some people have issue connecting. LEMON is investigating. For now, use Firefox or change your DNS server)

Or, hide this message: temporarily or permanently

Windshield Replacement




Windshield Replacement

Special Tools

* BO-641 - Suction Holder

* BO-46974 - Glass Removal System

* Use an adhesive that is approved by GM

For equivalent regional tools, refer to Special Tools Tools and Equipment.

Warning:
Refer to Cracked Window Warning Cracked Window Warning.


Warning:
Refer to Glass and Sheet Metal Handling Warning Glass and Sheet Metal Handling Warning.


1. Open the hood.

2. Remove the windshield wiper arms and blades. Refer to Windshield Wiper Arm Replacement Service and Repair.

3. Remove the air inlet grille panel. Refer to Air Inlet Grille Panel Replacement Air Inlet Grille Panel Replacement.

4. Remove the left and right side corner weatherstrip by the air inlet panel.

5. Remove the left and right windshield side garnish moldings. Refer to Windshield Side Garnish Molding Replacement Windshield Side Garnish Molding Replacement.

6. Remove the rearview mirror. Refer to Inside Rearview Mirror Replacement Inside Rearview Mirror Replacement.

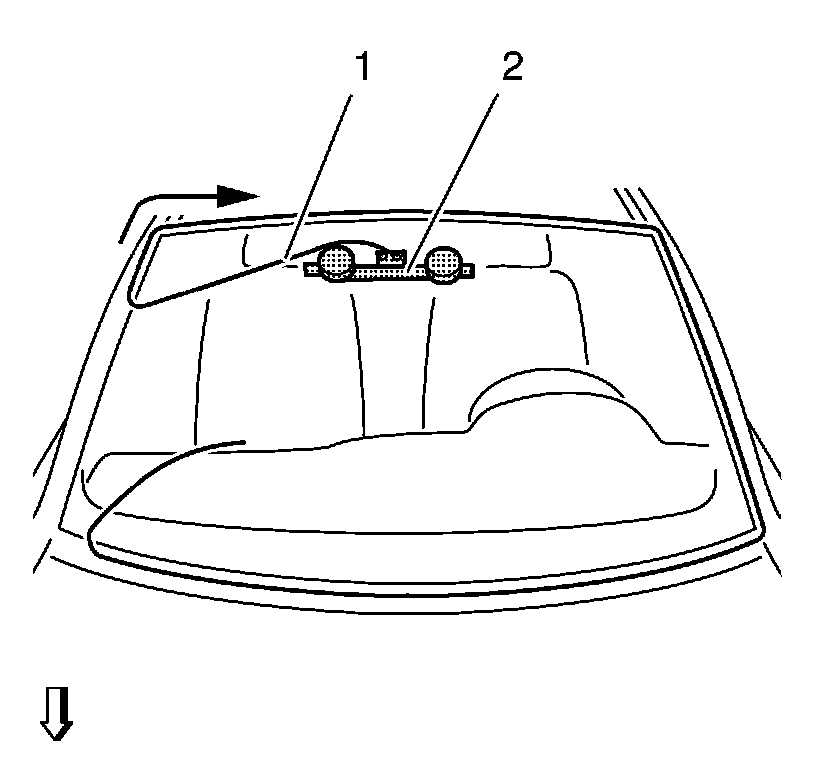
7. Disconnect the rain sensor connector, if equipped.

Warning

If broken glass falls into the defroster outlets, it can be blown into the passenger compartment and cause personal injury.

8. Cover to protect the following parts from broken glass:

* Upper dash pad

* Defroster outlets and A/C outlets

* Seats and carpeting





9. Use BO-46974 - system.

10. Take the diagonal measurement of the windshield.

11. Cut cutting wire into four times lengths.

Approx. 5200 mm (204.724 in), the circumference of the corresponding role of wire is approx. 1000 mm (39.369 in)





12. Heat the awl with a suitable tool.

Note:
Ensure that the windshield is not damaged in the process, otherwise stress cracks in the windshield may occur.

13. Stick the awl (1) with adhesive bed in the area of the front wall.

14. Pull the wire through.

1. Thread the cutting wire into the hole of the awl and bend the end over.

2. Pull the cutting wire with the awl to the middle of the steering wheel in the interior.





Note:
The cutting wire (1) should be rolled in beneath the rubber window seal (2) at the windscreen.

15. Lay the wire under the windshield all the way around.





16. Pull the second wire end through.

1. Stick awl approx. 10 mm (0.393 in), overlapping the first entry place with adhesive bed.

2. Thread the cutting wire into the hole of the awl and bend it over.

3. Pull the rest of the wire into the interior using the awl.





Note:
Ensure that the cutting wire is fitted correctly to the winch deflection roller.

17. Place the winch with two winding heads (2) on windshield inside.

18. Position the winch in the right hand area of the windshield inside.

19. Attach the cutting wire to the winch.

Note:
In the area of the A-pillar/front wall, increased cutting effort is necessary. Arrow shows the path of cutting wire (1).

20. Cut out the windshield.

1. Use the plastic sheet in order to protect the instrument panel assembly.

2. Insert transfer ratchet and apply tension to the cutting wire.

3. Cut out the windshield until the cutting wire is on the same level with the winch.





Note:
Ensure that the cutting wire is fitted correctly to the winch deflection roller.

21. Place the winch with two winding heads (2) on the inside of the windshield near to the interior rear view mirror.

22. Insert the transfer ratchet and apply tension to the cutting wire.

Note:
In the area of the A-pillar/roof frame, increased cutting effort is necessary. Arrow shows the path of the cutting wire (1).

23. Cut out the windshield.

1. Use the hold-down positioner and the plastic sheet to protect the sunroof.

2. Cut out the windshield until the cutting wire is on the same level with the winch.





Note:
Ensure that the cutting wire is fitted correctly to the winch deflection roller.

24. Place the winch with one winding head (2) on the inside the windshield in the position of the A-pillar an the driver side.

25. Attach the cutting wire (1) to the winch.

26. Insert transfer ratchet and apply tension to the cutting wire.

Note:
Use lubricant on the winch deflection roller. In the area of the A-pillar/bulkhead, increased cutting effort is necessary. Arrow shows the path of cutting wire (1).

27. Cut out the windshield.

1. Cut out the windshield until the cutting wire is on the same level with the winch.

2. Use the plastic sheet in order to protect the instrument panel assembly.





Note:
Ensure that the cutting wire is fitted correctly to the winch deflection roller.

28. Place the winch with one winding head (1) on the inside of the windshield in the area of the roof frame (1).

29. Insert the transfer ratchet and apply tension to the cutting wire.

Note:
Use lubricant on the winch deflection roller. In the area of the A-pillar/roof frame, increased cutting effort is necessary. Arrow shows the path of cutting wire (2).

30. Cut out the windshield.

1. Cut out the windshield until the cutting wire is on the same level with the winch.

2. Use the plastic sheet in order to protect the headlining trim panel.





31. Position both cutting tools.

32. Shift the winch (1) with two winding heads downwards

33. Shift the winch with one winding head (2) in the headlining area so that the cutting wire (3) is crossed.

34. Insert the transfer ratchet and apply tension to the cutting wire.

Note:
Arrow shows the path of cutting wire (3).

35. Cut out the windshield.

1. Cut out windshield until the cutting wire has cut through the adhesive bed completely.

2. Use the plastic sheet in order to protect the headlining trim panel.

36. Remove the glass removal system.

37. Install and lock the BO-641 - holderonto the windshield.

Note:
A second technician is required.

38. Remove the windshield from the vehicle.





39. Cut the adhesive tape with the provided knife (1) within a depth of 1 mm (0.039 in).

40. Repair any paint damage, using a touch-up pen that matches the vehicle color.

41. Replache the windshield rubber if damaged.

42. Cut the adhesive tape on the glass pane with the provided knife within a depth of 1 mm (0.039 in).

Installation Procedure

1. Remove all mounds or loose pieces of urethane adhesive from the pinch-weld area.

2. Inspect for any of the following conditions in order to help prevent future breakage of the window:

* High weld

* Solder spots

* Hardened sealer

* Any other obstruction or irregularity in the pinch-weld flange

3. After repairing the windshield opening as indicated, remove all traces of broken glass from the outer cowl panel, seats, floor, and defroster ducts.





4. Apply an adhesive bead (1).

Cut into the tip of the cartridge so that a bead of adhesive with a thickness approx. of 13 mm (0.511 in)is produced.

Note:
A second technician is required.

5. Insert the windshield.

1. Insert windshield, using the BO-641 - holder.

2. Place the windshield on the roof frames and lower it down.

6. Use fabric tape to secure the windshield in position.

7. Remove any excessive urethane adhesive from the body, using a suitable cleaner.

Note:
A second technician is required.

8. Use a soft spray of warm water in order for a immediate water leak test.

9. Inspect the windshield for leaks.

10. If any leaks are found, use a plastic paddle in order to apply extra urethane adhesive to the leak point.

11. Repeat the water leak test.

12. Maintain the following conditions in order to assure a proper cure of the urethane adhesive:

1. Lower a door window partially in order to prevent pressure buildups when closing the doors before the adhesive is cured.

2. DO NOT drive the vehicle until the adhesive is cured. Refer to the above curing times.

3. DO NOT use compressed air to dry the adhesive.

13. Install the air inlet grille panel. Refer to Air Inlet Grille Panel Replacement Air Inlet Grille Panel Replacement.

14. Install the windshield wipers arms and blades. Refer to Windshield Wiper Arm Replacement Service and Repair.

15. Install the left and right windshield garnish molding. Refer to Windshield Side Garnish Molding Replacement Windshield Side Garnish Molding Replacement.

16. Install the rearview mirror. Refer to Inside Rearview Mirror Replacement Inside Rearview Mirror Replacement.

17. Connect the rain sensor connector, if equipped.

18. Remove the double layer of masking tape around the perimeter of the painted surfaces and the interior trim.

19. Close the hood.