Operation CHARM: Car repair manuals for everyone.
Manuals through 2025 now available!

Our trusted friends have launched a new website named LEMON, which has newer manuals. It also contains all the CHARM manuals.

LEMON is the spiritual successor to CHARM, I recommend you try it!

Link: lemon-manuals.la or lemon-manuals.org.ua

(Some people have issue connecting. LEMON is investigating. For now, use Firefox or change your DNS server)

Or, hide this message: temporarily or permanently

Locks: Service and Repair




Key and Lock Cylinder Coding

Ignition Lock Cylinder

The ignition lock cylinder uses 8 key cut positions, 1-8. The tumbler positions are staggered from side to side, four on one side and four on the other.





Note:
The tumblers (5) are not self-retaining and must be held in place if the key is not fully inserted into the lock cylinder or until the cylinder (2) is assembled into the case assembly (8).

1. Hold the cylinder assembly (2) so that the retainer pin pocket is facing upward.

2. Insert one tumbler spring (4) into each of the 4 spring wells.

3. The first tumbler (5) to be loaded will be the first key cut position, the first number in the key code. Install the first tumbler in the slot nearest the head of the lock cylinder. Install the remaining tumblers following the key code into the slots at the key cut positions 3, 5 and 7. It may be necessary to move the sidebar (already pre-assembled into the cylinder assembly) out slightly to fully install the tumbler into the correct slot.

4. Check the correct loading by holding the tumblers (5) in position and fully inserting the key into the cylinder assembly (2). All tumblers and the sidebar should be flushed with the outside diameter of the cylinder assembly body.

5. Rotate the cylinder assembly (2) so that the retention lug is facing upward and then remove the key, always holding all tumblers so they do not fall out.

6. Insert one tumbler spring (4) into each of the 4 spring wells.

7. The first tumbler (5) to be loaded will be the second key cut position, the second number in the key code. Install the tumbler in the slot nearest the head of the lock cylinder. Install the remaining tumblers following the key code into the slots at the key cut positions 4, 6 and 8.

8. Check for the correct loading by holding the tumblers (5) in position and fully inserting the key into the cylinder assembly (2).

9. Lightly lubricate the tumbler (5) surfaces and the small detent recess on the side of the cylinder assembly (2) using the lubrication provided.

10. With the key fully inserted, rotate the cylinder assembly so that the side with the retaining pin (7) pocket is facing upward.

11. Insert the retaining pin spring (6) and then retaining pin (7) into the pocket located behind the 4 tumblers. The retaining pin spring and retaining pin are not self-retaining and must be held in place until the cylinder is installed into the case assembly (8).

12. With the key fully inserted into the cylinder assembly and the retaining pin (7) fully depressed into the cylinder, align the retainer lug on the cylinder with the groove on the inside diameter of the case assembly (8). This groove extends the full length of the case assembly.

13. Install the cylinder assembly into the case assembly (8) being very careful to hold the retainer pin spring (6) and retainer pin (7) in the cylinder until they enter into the case assembly. With the cylinder fully inserted into the case assembly, rotate the cylinder counterclockwise until the retainer pin (7) snaps into place limiting the rotation of the cylinder assembly.

14. With the cylinder assembly in the Off-Lock position, insert the detent rod (1) into the hole in the side of the case assembly (8). Install the anti-rattle spring (3) into the case assembly over the detent spring. The anti-rattle spring should capture the detent ball and spring in the case assembly. Make sure both ends of the anti-rattle spring (3) are fully seated, pressed into, the case assembly.

15. With the cylinder assembly in the Off-Lock position, insert the detent rod (1) into the hole in the side of the case assembly (8). Install the anti-rattle spring (3) into the case assembly over the detent spring. The anti-rattle spring should capture the detent ball and spring in the case assembly. Make sure both ends of the anti-rattle spring (3) are fully seated, pressed into, the case assembly.

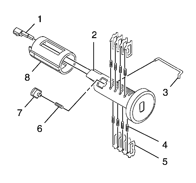
Front Side Door Lock Cylinder





1. Rotate the cylinder (8) so that the side with the tumbler spring wells faces up.

2. Insert the tumbler springs (4) into the 4 spring wells.

3. Install the tumbler (10) for key cut position 3 in the slot closest to the cylinder head. Install the remaining tumblers, key cut positions 5, 7 and 9, following the key code and same process. Press the tumblers in place until they are secure.

4. Check the correct loading of the tumblers by inserting the key into the cylinder. All tumblers should be flushed with the lock cylinder body.

5. Turn the cylinder so the side with the other tumbler spring wells faces up.

6. Insert the tumbler springs (4) into the 4 spring wells.

7. The first tumbler closest to the head of the lock cylinder to be loaded will be the fourth key cut position. Install the remaining tumblers for key cut positions 6, 8 and 10. Press the tumblers in place until they are secure.

8. Check the correct loading of the tumblers by inserting the key into the cylinder. All of the tumblers should be flushed with the lock cylinder body.

9. Apply lubricant to the cylinder body and tumbler surfaces along with a small amount in the head of the cylinder using the supplied lubricant.

10. Install the retainer (5) into the spring wells in the head of the lock cylinder.

11. Snap the shutter (7) into the cylinder.

12. Assemble the cylinder into the case (3).

13. Align dimples of the cylinder cap (6) with the 4 recesses in the cap. Secure by pressing the cap into place with light hand pressure.

14. Assemble the rod clip (2) to the lever (1).

15. Assemble the lever (1) to the lock. Use driver unit (11) to retain the lever assembly.

16. Assemble the gasket to the lock.

17. Insert the key into the lock and function the lock to check for proper assembly and smooth operation.