Operation CHARM: Car repair manuals for everyone.
Manuals through 2025 now available!

Our trusted friends have launched a new website named LEMON, which has newer manuals. It also contains all the CHARM manuals.

LEMON is the spiritual successor to CHARM, I recommend you try it!

Link: lemon-manuals.la or lemon-manuals.org.ua

(Some people have issue connecting. LEMON is investigating. For now, use Firefox or change your DNS server)

Or, hide this message: temporarily or permanently

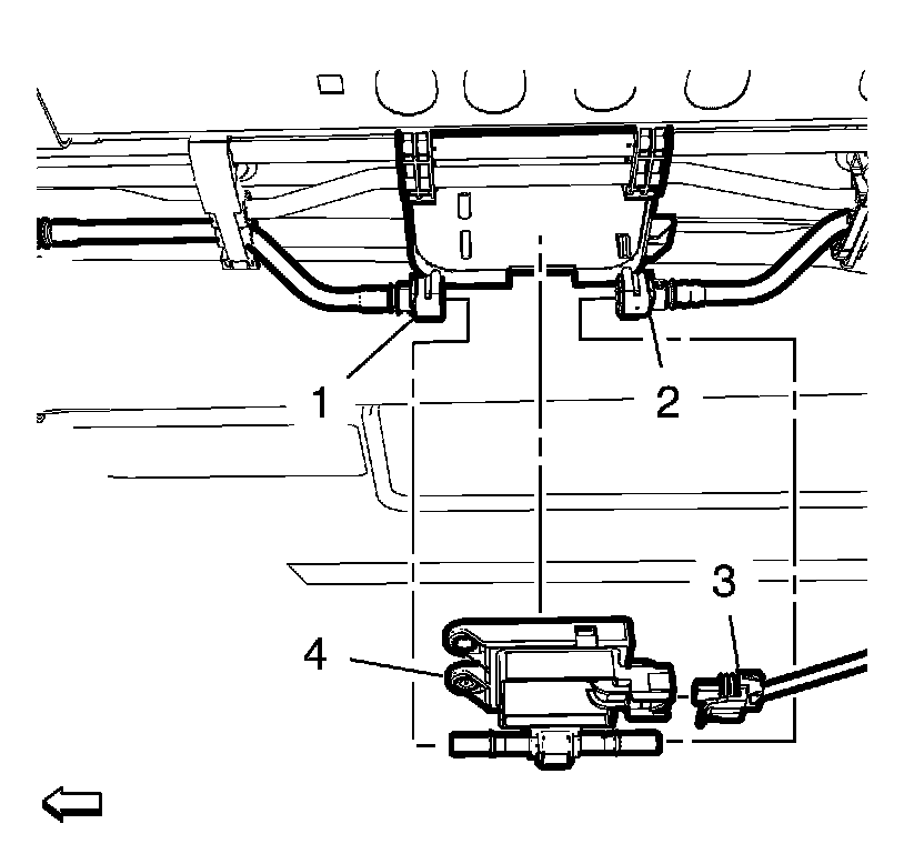
Flexible Fuel Sensor Replacement




Flexible Fuel Sensor Replacement

Removal Procedure

1. Raise and support the vehicle. Refer to Lifting and Jacking the Vehicle Service and Repair.

2. Remove the underbody front air deflector - right side.




3. Remove the fuel feed pipe (1, 2) from the flexible fuel sensor (4). Refer to Plastic Collar Quick Connect Fitting Service Procedures.

4. Disconnect the flexible fuel sensor wiring harness plug (3).

5. Unclip the flexible fuel sensor (4).

Installation Procedure




1. Clip in the flexible fuel sensor (4).

2. Connect the flexible fuel sensor wiring harness plug (3).

3. Install the fuel feed pipe (1, 2) to the flexible fuel sensor (4). Refer to Plastic Collar Quick Connect Fitting Service Procedures.

4. Install the underbody front air deflector - right side.

5. Lower the vehicle.