Operation CHARM: Car repair manuals for everyone.
Manuals through 2025 now available!

Our trusted friends have launched a new website named LEMON, which has newer manuals. It also contains all the CHARM manuals.

LEMON is the spiritual successor to CHARM, I recommend you try it!

Link: lemon-manuals.la or lemon-manuals.org.ua

(Some people have issue connecting. LEMON is investigating. For now, use Firefox or change your DNS server)

Or, hide this message: temporarily or permanently

Thread Repair Specifications




Thread Repair Specifications (LAF, LEA, or LUK)

Engine Block- Front View










Engine Block- Back View










Engine Block- Right Side View










Engine Block- Left Side View










Engine Block- Bottom View










Engine Block- Top View










Lower Crankcase- Front View










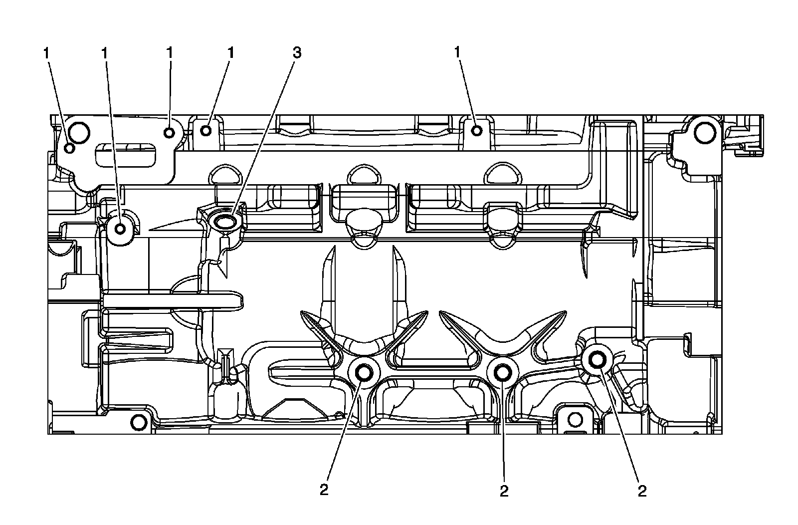
Lower Crankcase- Back View










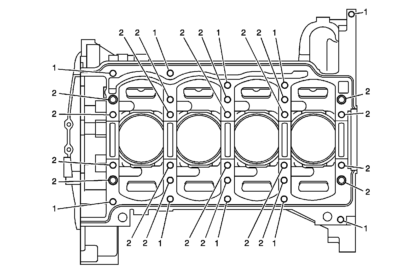
Lower Crankcase- Bottom View










Lower Crankcase- Right View










Lower Crankcase- Left View










Cylinder Head- Top View










Cylinder Head- Intake Manifold Deck View










Cylinder Head- Exhaust Manifold Deck View










Cylinder Head- Front View










Cylinder Head- Back View