Operation CHARM: Car repair manuals for everyone.
Manuals through 2025 now available!

Our trusted friends have launched a new website named LEMON, which has newer manuals. It also contains all the CHARM manuals.

LEMON is the spiritual successor to CHARM, I recommend you try it!

Link: lemon-manuals.la or lemon-manuals.org.ua

(Some people have issue connecting. LEMON is investigating. For now, use Firefox or change your DNS server)

Or, hide this message: temporarily or permanently

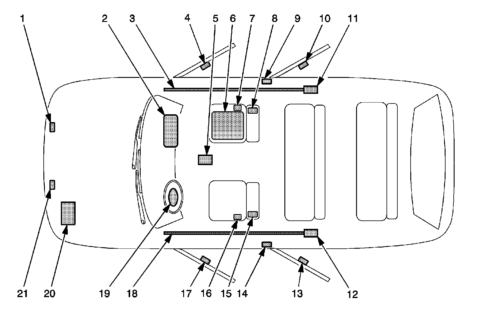
Air Bag Systems: Locations




SIR Identification Views

The SIR Identification Views shown below illustrate the approximate location of all SIR components available for the vehicle. This will assist in determining the appropriate SIR Disabling and Enabling for a given service procedure. Refer to SIR Disabling and Enabling Service and Repair.





1 - Right Front Impact Sensor-Located under the front hood in the engine compartment

2 - Passenger Instrument Panel Air Bag-Located at the top right under the instrument panel

3 - Right Roof Rail Air Bag-Located under the headliner, extending from the passenger front windshield pillar to the passenger rear windshield pillar

4 - Right Front Side Impact Sensor-Located under the right front door trim near the lower rear of the door frame

5 - Inflatable Restraint Sensing and Diagnostic Module (SDM)-Located underneath the vehicle carpet under the center console

6 - Passenger Presence System-Located under the front passenger sear trim cover (if equipped)

7 - Passenger Seat Belt Anchor Pretensioner-Located on the outboard side of the passenger seat (if equipped)

8 - Passenger Seat Side Air Bag-Located on the seat back of passenger seat (if equipped)

9 - Passenger Seat Belt Retractor Pretensioner-Located under the trim near the bottom of the center pillar

10 - Right Rear Side Impact Sensor-Located under the right rear door trim near the lower rear of the door frame

11 - Right Roof Rail Air Bag-Located behind the garnish molding on the upper rear pillar

12 - Left Roof Rail Air Bag-Located behind garnish molding on the upper rear pillar

13 - Left Rear Side Impact Sensor-Located under the left rear door trim near the lower rear of the door frame

14 - Driver Seat Belt Retractor Pretensioner-Located under the trim near the bottom of the center pillar

15 - Driver Seat Side Air Bag-Located on the seat back of the driver seat

16 - Driver Seat Belt Anchor Pretensioner-Located on the outboard side of the driver seat

17 - Left Front Side Impact Sensor-Located under the left front door trim near the lower rear of the door frame

18 - Left Roof Rail Air Bag-Located under the headliner, extending from the driver front windshield pillar to the driver rear windshield pillar

19 - Driver Steering Wheel Air Bag-Located on the steering wheel

20 - Vehicle Battery-Located at the front left of the engine compartment.

21 - Left Front Impact Sensor-Located under the front hood in the engine compartment