Operation CHARM: Car repair manuals for everyone.
Manuals through 2025 now available!

Our trusted friends have launched a new website named LEMON, which has newer manuals. It also contains all the CHARM manuals.

LEMON is the spiritual successor to CHARM, I recommend you try it!

Link: lemon-manuals.la or lemon-manuals.org.ua

(Some people have issue connecting. LEMON is investigating. For now, use Firefox or change your DNS server)

Or, hide this message: temporarily or permanently

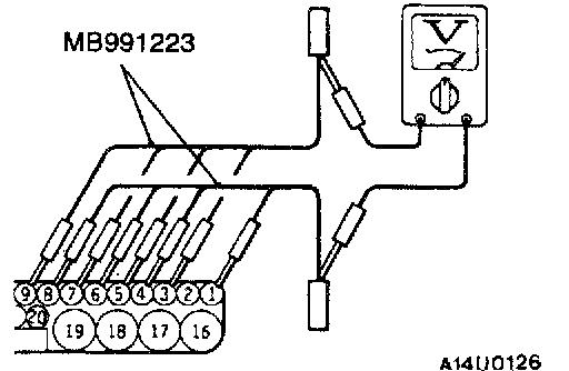
Wheel Speed Sensor: Testing and Inspection

1. Lift up the vehicle and release the parking brake.

Part 1 Of 2:




Part 2 Of 2:





2. Disconnect the ABS-ECU connector, and then use the special tool (inspection harness for connector pin contact pressure) to measure the output voltage at the harness-side connector.
3. Rotate the wheel to be measured at approximately 1/2 - 1 rotation per second, and check the output voltage using a voltmeter or an oscilloscope.
Output voltage
When measuring with a voltmeter: 70 mV or more
When measuring with an oscilloscope: 200 mV p-p or more
4. If the output voltage is lower than the above values, the reason could be as follows:
^ Faulty wheel speed sensor.
So replace the wheel speed sensor.

Inspecting Wave Forms With An Oscilloscope





Use the following method to observe the output voltage wave form from each wheel sensor with an oscilloscope
^ Start the engine, and rotate the front wheels by engaging 1st gear (vehicles with manual transaxle) or D range (vehicles with automatic transaxle). Turn the rear wheels manually so that they rotate at a constant speed.

NOTE
1. Check the connection of the sensor harness and connector before using the oscilloscope.
2. The wave form measurements can also be taken while the vehicle is actually moving.
3. The output voltage will be low when the wheel speed is low, and similarly it will be higher as the wheel speed increases.





POINTS IN WAVEFORM MEASUREMENT

NOTE The wheel speed sensor cable moves following motion of the front or rear suspension. Therefore, it is likely that it has an open circuit only when driving on rough roads and it functions normally on ordinary roads. It is, therefore, recommended to observe sensor output voltage waveform also under special conditions, such as rough road driving.