Operation CHARM: Car repair manuals for everyone.
Manuals through 2025 now available!

Our trusted friends have launched a new website named LEMON, which has newer manuals. It also contains all the CHARM manuals.

LEMON is the spiritual successor to CHARM, I recommend you try it!

Link: lemon-manuals.la or lemon-manuals.org.ua

(Some people have issue connecting. LEMON is investigating. For now, use Firefox or change your DNS server)

Or, hide this message: temporarily or permanently

Connector Views

Junction Block (Top):




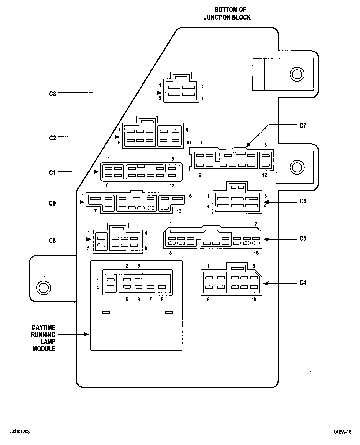
Junction Block (Bottom):




Junction Block/Body Control Module - 12 Way:




Junction Block C1:




Junction Block C2:




Junction Block C3:




Junction Block C4:




Junction Block C5:




Junction Block C6:




Junction Block C7:




Junction Block C8:




Junction Block C9:




Junction Block C10:




Junction Block C11 (Built-up Export):