Operation CHARM: Car repair manuals for everyone.
Manuals through 2025 now available!

Our trusted friends have launched a new website named LEMON, which has newer manuals. It also contains all the CHARM manuals.

LEMON is the spiritual successor to CHARM, I recommend you try it!

Link: lemon-manuals.la or lemon-manuals.org.ua

(Some people have issue connecting. LEMON is investigating. For now, use Firefox or change your DNS server)

Or, hide this message: temporarily or permanently

Starter Relay: Testing and Inspection




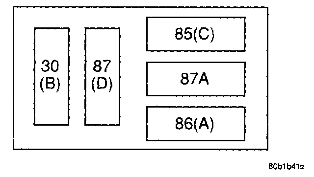
Starter Relay Pinout:




Starter Relay Pinout:





WARNING: CHECK TO ENSURE THAT THE TRANSMISSION IS IN THE PARK/NEUTRAL POSITION WITH THE PARKING BRAKE APPLIED.

Relay Test
The starter relay is located in the Power Distribution Center (PDC) in the engine compartment. Refer to the PDC label for relay identification and location.

Remove the starter relay from the PDC as described in this group to perform the following tests:
1. A relay in the de-energized position should have continuity between terminals 87A and 30, and no continuity between terminals 87 and 30. If OK, go to Step 2. If not OK, replace the faulty relay.
2. Resistance between terminals 85 and 86 (electromagnet) should be 75 ± 5 ohms. If OK, go to Step 3. If not OK, replace the faulty relay.
3. Connect a battery B+ lead to terminals 86 and a ground lead to terminal 85 to energize the relay. The relay should click. Also test for continuity between terminals 30 and 87, and no continuity between terminals 87A and 30. If OK, refer to Relay Circuit Test procedure. If not OK, replace the faulty relay.

Relay Circuit Test
1. The relay common feed terminal cavity (30) is connected to battery voltage and should be hot at all times. If OK, go to Step 2. If not OK, repair the open circuit to the PDC fuse as required.
2. The relay normally closed terminal (87A) is connected to terminal 30 in the de-energized position, but is not used for this application. Go to Step 3.
3. The relay normally open terminal (87) is connected to the common feed terminal (30) in the energized position. This terminal supplies battery voltage to the starter solenoid field coils. There should be continuity between the cavity for relay terminal 87 and the starter solenoid terminal at all times. If OK, go to Step 4. If not OK, repair the open circuit to the starter solenoid as required.
4. The coil battery terminal (86) is connected to the electromagnet in the relay It is energized when the ignition switch is held in the Start position and the clutch pedal is depressed (manual trans). Check for battery voltage at the cavity for relay terminal 86 with the ignition switch in the Start position and the clutch pedal is depressed (manual trans), and no voltage when the ignition switch is released to the ON position. If OK, go to Step 5. If not OK, check for an open or short circuit to the ignition switch and repair, if required. If the circuit to the ignition switch is OK, see the Ignition Switch Test procedure in this group.
5. The coil ground terminal (85) is connected to the electromagnet in the relay. It is grounded through the transmission range sensor only when the gearshift selector lever is in the Park or Neutral positions. Check for continuity to ground at the cavity for relay terminal 85. If not OK with an automatic transmission, check for an open or short circuit to the transmission range sensor and repair. It is grounded by the PCM if the conditions are right to start the car. For automatic trans. cars the PCM must see Park Neutral switch and near zero engine rpm. For manual trans. cars the PCM only needs to see near zero engine rpm. To diagnose the Park Neutral switch of the trans range sensor refer to the transaxle section for more information. Check for continuity to ground while the ignition switch is in the start position. If not OK and the vehicle has an automatic trans. verify Park Neutral switch operation. If that checks OK check for continuity between PCM and the terminal 85. Repair open circuit as required. If OK, the PCM may be defective.