Operation CHARM: Car repair manuals for everyone.
Manuals through 2025 now available!

Our trusted friends have launched a new website named LEMON, which has newer manuals. It also contains all the CHARM manuals.

LEMON is the spiritual successor to CHARM, I recommend you try it!

Link: lemon-manuals.la or lemon-manuals.org.ua

(Some people have issue connecting. LEMON is investigating. For now, use Firefox or change your DNS server)

Or, hide this message: temporarily or permanently

Inspection Procedure 34

INSPECTION PROCEDURE 34: A/C system.

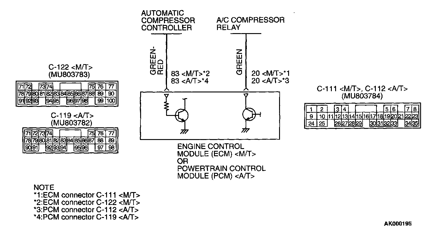
A/C Circuit:




Connectors:





COMMENT
- When the A/C is "ON", the battery positive voltage is applied on the ECM (terminal No.83) PCM (terminal No.83) from the automatic compressor controller.
When battery positive voltage is applied to the ECM or PCM
, the ECM or PCM turns "ON" the power transistor in the ECM or PCM . The ECM or PCM delays A/C engagement momentarily while it increases idle rpm. Then the A/C compressor clutch relay coil will be energized.
With this, the A/C compressor clutch relay turns "ON", and the A/C compressor clutch functions.

TROUBLESHOOTING HINTS (The most likely causes for this case:)
- Malfunction of the A/C control system. Malfunction of the A/C switch.
- Improper connector contact, open circuit or short-circuited harness wire.
- Malfunction of the ECM or PCM
.

DIAGNOSIS

Connectors:





STEP 1. Check connectors C-111, C-122 at ECM or connectors C-112, C-119 at PCM
for damage.

Q: Is the connector in good condition?

YES: Go to Step 2.
NO: Repair or replace it. Refer to Harness Connector Inspection. Then confirm that the malfunction symptom is eliminated.

Connectors:








STEP 2. Check the circuit at ECM connector C-111 or PCM connector C-112
.

1. Disconnect the connectors C-111 or C-112
and measure at the harness side.
2. Turn the
ignition switch to the "ON" position.
3. Measure the voltage between terminal No.20 and ground.
- Voltage should be battery positive voltage.
4. Using a jumper wire, connect terminal No.20 to ground.
- A/C compressor relay should turn "ON".
5. Turn the ignition switch to the "LOCK" (OFF) position.

Q: Is the voltage and A/C compressor relay condition normal?

YES: Go to Step 3.
NO: Refer to Diagnosis - Introduction To Heater, Air Conditioning And Ventilation Diagnosis. Then confirm that the malfunction symptom is eliminated.

Connectors:











STEP 3. Check the circuit at ECM connector C-122 or PCM connector C-119.

1. Disconnect the connectors C-122 or C-119 and measure at the harness side.
2. Turn the
ignition switch to the "ON" position.
3. Measure the voltage between terminal No.83 and ground.
- Voltage should be 1 volt or less when the A/C switch is "OFF".
- Voltage should be battery positive voltage when the A/C switch is "ON".
4. Turn the ignition switch to the "LOCK" (OFF) position.

Q: Is the measured voltage within the specified range?

YES: Replace the ECM or PCM. Then confirm that the malfunction symptom is eliminated.
NO: Refer to Diagnosis - Introduction To Heater, Air Conditioning And Ventilation Diagnosis.