Operation CHARM: Car repair manuals for everyone.
Manuals through 2025 now available!

Our trusted friends have launched a new website named LEMON, which has newer manuals. It also contains all the CHARM manuals.

LEMON is the spiritual successor to CHARM, I recommend you try it!

Link: lemon-manuals.la or lemon-manuals.org.ua

(Some people have issue connecting. LEMON is investigating. For now, use Firefox or change your DNS server)

Or, hide this message: temporarily or permanently

Cylinder Head Assembly: Service and Repair

REMOVAL





1. Remove the engine air cleaner housing.
2. Remove the mass air flow sensor.
3. Drain the engine coolant.
4. Remove the radiator with radiator fan.
5. Disconnect the camshaft position sensor harness connector (1) and remove the bolt (2) and the sensor. (right side only).





6. Remove the accessory drive belt.
7. Drain the engine oil. .
8. Remove the intake manifold.
9. Remove the cylinder head cover.
10. Disconnect the exhaust system at the exhaust manifolds.
11. Position the crankshaft 40 °ATDC.





12. Using Special Tools 9104 (1) and 9105 Camshaft Locating Plates, lock the camshafts by placing the tool flush on the cylinder head, and inserting it into the groove in the camshaft.
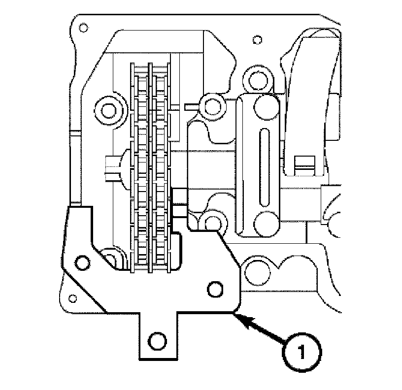
13. Remove the timing chain tensioner (1).








14. Use a cable tie (1) to secure the timing chain to the right hand camshaft sprocket.





15. Remove the camshaft sprocket bolts (1) and the sprockets.
16. Remove Special Tools 9104 and 9105 Camshaft Locating Plates.
17. Remove the camshafts.

Cylinder Head Torque Sequence:





18. Loosen the cylinder head bolts using the sequence diagram.





19. Remove the cylinder head bolts (1), the cylinder heads, and the gaskets.


CLEANING
To ensure engine gasket sealing, proper surface preparation must be performed, especially with the use of aluminum engine components and multi-layer steel cylinder head gaskets.

Note: Multi-Layer Steel (MLS) head gaskets require a scratch free sealing surface.

Remove all gasket material from cylinder head and block. Be careful not to gouge or scratch the aluminum head sealing surface.
Clean all engine oil passages.


INSPECTION





1. Before cleaning, check for leaks, damage and cracks.
2. Clean the cylinder head coolant and oil passages.
3. Check the cylinder head for flatness.

CAUTION: 0.20 mm (0.008 in.) MAX is a combined total dimension of the stock removal limit from cylinder head and block top surface (Deck) together.

4. The cylinder head must be flat within:
^ Standard dimension = less than 0.002 inch (0.05 mm)
^ Service Limit = 0.008 inch (0.2 mm)
^ Grinding Limit = Maximum of 0.008 inch (0.2 mm) is permitted.


INSTALLATION





1. Position the cylinder head gasket and the cylinder head on the engine block dowels.

Note: Measure and inspect cylinder head bolts before reuse. Do not reuse bolts that exceed 144 mm (1) in length.

Note: Apply a thin coat of lubricant to head bolt threads before installing.





2. Install, but do not tighten the cylinder head bolts (1).

Cylinder Head Torque Sequence:





3. Use the tightening sequence chart to tighten the cylinder
head bolts.

Note: Bolts numbered 9 and 10 are timing chain cover bolts. They should be tightened after the cylinder head bolts are tightened.

4. Tighten the cylinder head bolts in four stages.
^ Stage one, 10 Nm (7 ft. lbs.)
^ Stage two, 30 Nm (22 ft. lbs.)
^ Stage three, Rotate bolts 90° clockwise.
^ Stage four Rotate bolts 90° clockwise.
^ Tighten bolts 9 and 10 to 20 Nm (7-15 ft. lbs.).
5. Using Special Tools 9104 and 9105 Camshaft Locating Plates, lock the camshafts.





6. Install the camshaft sprockets and bolts (1).
7. Tighten the camshaft sprocket bolts in two stages.
^ Stage one, 50 Nm (37 ft. lbs).
^ Stage two, Rotate bolts 90° clockwise.





8. Remove the cable tie (1).





9. Install the timing chain tensioner (1). Tighten the timing chain tensioner to 80 Nm (60 ft. lbs.).
10. Remove Special Tools 9104 and 9105 Camshaft Locating Plates.
11. Check for a crankshaft position of 40 °ATDC.
12. Connect the exhaust system at the manifold flanges and tighten the exhaust flange bolts to 20 Nm (15 ft. lbs.).
13. Install the cylinder head covers.
14. Install the intake manifold.
15. Install and connect the ignition coils.





16. Install the accessory drive belt.
17. Install and connect the radiator fan with the radiator.





18. Install the camshaft position sensor and bolt (2). Connect the camshaft position sensor harness connector (1). Tighten the bolt to 10 Nm (7 ft. lbs.).
19. Install the engine air cleaner housing.
20. Fill the cooling system.
21. Fill the engine oil.
22. Start the engine and check for leaks during warm up.
23. Recheck all fluid levels.