Operation CHARM: Car repair manuals for everyone.
Manuals through 2025 now available!

Our trusted friends have launched a new website named LEMON, which has newer manuals. It also contains all the CHARM manuals.

LEMON is the spiritual successor to CHARM, I recommend you try it!

Link: lemon-manuals.la or lemon-manuals.org.ua

(Some people have issue connecting. LEMON is investigating. For now, use Firefox or change your DNS server)

Or, hide this message: temporarily or permanently

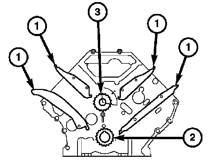
Timing Chain Guide: Service and Repair

REMOVAL





1. Remove the timing chain (1).





2. Remove the timing chain guides (1) off of the mounting pins. Inspect and replace worn or damaged guides as required.

INSTALLATION
1. Install the timing chain guides on the mounting pins. Lubricate surface with engine oil.
2. Install the timing chain.