Operation CHARM: Car repair manuals for everyone.
Manuals through 2025 now available!

Our trusted friends have launched a new website named LEMON, which has newer manuals. It also contains all the CHARM manuals.

LEMON is the spiritual successor to CHARM, I recommend you try it!

Link: lemon-manuals.la or lemon-manuals.org.ua

(Some people have issue connecting. LEMON is investigating. For now, use Firefox or change your DNS server)

Or, hide this message: temporarily or permanently

Output Shaft: Service and Repair




OUTPUT SHAFT BEARING

REMOVAL





1. Raise and support vehicle.
2. Remove the propeller shaft.
3. Place the transmission in the PARK position before attempting to remove the output shaft nut.
4. Remove the output shaft nut holding the propeller shaft flange to the output shaft.
5. Remove the propeller shaft flange.
6. Remove the transmission rear oil seal with a suitable slide hammer and screw.
7. Remove the transmission output shaft washer. Be sure to tag the washer since it is very similar to the geartrain endplay shim and they must not be interchanged.
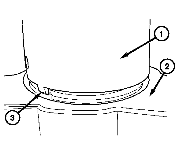
8. Remove the transmission rear output shaft bearing retaining ring (1).





9. Position Special Tool 9082 (1) over the inner race of the output shaft bearing (3).





10. Slide the collar (3) on the Special Tool 9082 (1) downward over the fingers (4) of the tool.





11. Remove the output shaft bearing (3).

CAUTION: Verify that the geartrain end-play shim has remained on the output shaft and against the park gear. The shim may be adhered to the bearing inner race. Retrieve the shim from the bearing and install over the output shaft and against the park gear.

INSTALLATION

CAUTION: Verify that the geartrain end-play shim is properly installed over the output shaft and against the park gear.

1. Install the output shaft bearing in the rear transmission housing.





a. Using Special Tool 9287 (1), install the output shaft bearing (2) into the transmission housing (3). The closed side of the plastic cage must point towards the parking lock gear.





b. Install the retaining ring (1). Ensure that the retaining ring is seated correctly in the groove.
c. Check that there is no play between the bearing (2) and the retaining ring (1) using feeler gauge.
d. There must be no play between the retaining ring and the bearing. If the ring cannot be installed, a thinner ring must be used. If there is play between the ring and the bearing, a thicker ring must be installed. Retaining rings are available in thicknesses of 2.0 mm (0.079 inch), 2.1 mm (0.083 inch), and 2.2 mm (0.087 inch).
2. Install the output shaft washer onto the output shaft.





3. Install a new transmission rear seal into the transmission case (2) with Special Tool 8902A (1).
4. Install the propeller shaft flange onto the output shaft.
5. Place the transmission in the PARK position before attempting to tighten the output shaft nut.
6. Install a new output shaft nut. Tighten the output shaft nut to 200 Nm (147 ft. lbs.).
7. Stake the output shaft nut to the output shaft as follows.





a. Place Special Tool 9078 (2) and Special Tool C-4171 onto the output shaft.
b. Rotate Special Tool 9078 (2) until the alignment pin (3) engages the output shaft notch (4).





c. Press downward on Special Tool 9078 (1) until the staking pin (3) contacts the output shaft nut flange (2).
d. Strike the Special Tool C-4171 with a suitable hammer until the output shaft nut is securely staked to the output shaft.

8. Install the propeller shaft.