Operation CHARM: Car repair manuals for everyone.
Manuals through 2025 now available!

Our trusted friends have launched a new website named LEMON, which has newer manuals. It also contains all the CHARM manuals.

LEMON is the spiritual successor to CHARM, I recommend you try it!

Link: lemon-manuals.la or lemon-manuals.org.ua

(Some people have issue connecting. LEMON is investigating. For now, use Firefox or change your DNS server)

Or, hide this message: temporarily or permanently

Drive Belt: Service and Repair

DRIVE BELT
REMOVAL-SRT





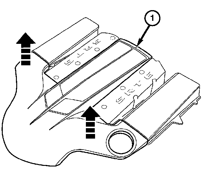
1. Remove the engine cover (1). Grasp both corners of the engine cover and pull up firmly.





2. Remove the air pump tube retaining bolts (2).
3. Remove the air pump tube assembly from the engine (1).





4. Rotate the belt tensioner counterclockwise and release the tension on the accessory drive belt.
5. Remove the accessory drive belt from the pulleys.
6. Carefully release the wrench tension on the belt tensioner.





7. Remove the supercharger idler pulley upper retaining bolt (1) and lower retaining bolt (2).
8. Remove the supercharger idler pulley.
9. Remove the accessory drive belt from the engine.
10. Inspect the accessory drive belt. Refer to damage patterns.
11. Inspect the pulleys for wear or damage.
12. Replace the accessory drive belt or pulleys as necessary.

CLEANING
Clean all foreign debris from the belt pulley grooves. The belt pulleys must be free of oil, grease, and coolant before installing the drive belt.

INSPECTION





Belt replacement is necessary for any or all of the following conditions:
^ Excessive wear
^ Frayed cords
^ Severe glazing The accessory drive belt may develop minor cracks across the ribbed side (1) due to reverse bending. These minor cracks are considered normal and acceptable. Parallel cracks (2) are not considered normal and should be cause for belt replacement.

Note: Do not use any type of belt dressing or restorer on the accessory drive belt.

INSTALLATION - SRT





1. Route the accessory drive belt onto the engine pulleys.





2. Install the supercharger idler pulley upper mounting bolt (1) and the lower mounting bolt (2). Tighten the bolts to 20 Nm (15 ft. lbs.).





3. Rotate the belt tensioner counterclockwise and install the accessory drive belt over the tensioner pulley.
4. Release the belt tensioner and remove the wrench.





5. Install the air pump tube assembly (1) to the engine.





6. Install the engine cover (1). Align engine cover retaining clips to the rubber mounts, and push down firmly to connect engine cover to rubber mounts.

Note: To ease the installation of the engine cover, apply a small amount of lubricant to the engine cover rubber mounts.

7. Start the engine and verify the accessory drive belt is properly routed and seated.