Operation CHARM: Car repair manuals for everyone.
Manuals through 2025 now available!

Our trusted friends have launched a new website named LEMON, which has newer manuals. It also contains all the CHARM manuals.

LEMON is the spiritual successor to CHARM, I recommend you try it!

Link: lemon-manuals.la or lemon-manuals.org.ua

(Some people have issue connecting. LEMON is investigating. For now, use Firefox or change your DNS server)

Or, hide this message: temporarily or permanently

Piston Ring: Service and Repair

PISTON RINGS
REMOVAL
1. Remove the pistons and connecting rods.





CAUTION: Do not remove the oil scraper ring with the pliers. The oil scraper ring must be removed and installed by hand.

2. Using piston ring pliers, remove the piston rings.

CAUTION: Do not cut or scratch pistons while cleaning.

3. Use a ring grove cleaner or a broken ring to remove deposits in the ring grooves.
4. Inspect the pistons for heat scoring and distortion at the piston pin openings and piston skirts. Replace as required.

INSTALLATION





1. Measure the end gap (1) with rings at the bottom of the cylinder.
^ Ring # 1 clearance is 0.20 mm (0.007 inch) to 0.35 mm (0.013 inch).
^ Ring # 2 clearance is 0.20 mm (0.007 inch) to 0.40 mm (0.015 inch).





2. Measure the vertical clearance (2) of the piston rings (1).
3. Ring # 1 clearance is 0.012 mm (0.0004 inch) to 0.060 mm (0.002 inch).
4. Ring # 2 clearance is 0.010 mm (0.0003 inch) to 0.030 mm (0.001 inch).





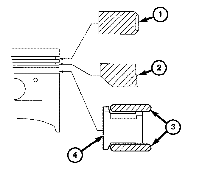
5. Install the rings on the pistons as shown. Compression ring (1) Sealing ring (2) Oil Ring Rail (3) Oil Ring Expander (4)





6. The ring gaps when installed must be positioned as shown.
^ Ring one (1)
^ Upper side rail (2)
^ Ring two and spacer expander (3)
^ Lower side rail (4)
7. Install the pistons and connecting rods.