Operation CHARM: Car repair manuals for everyone.
Manuals through 2025 now available!

Our trusted friends have launched a new website named LEMON, which has newer manuals. It also contains all the CHARM manuals.

LEMON is the spiritual successor to CHARM, I recommend you try it!

Link: lemon-manuals.la or lemon-manuals.org.ua

(Some people have issue connecting. LEMON is investigating. For now, use Firefox or change your DNS server)

Or, hide this message: temporarily or permanently

Timing Chain Removal and Installation

TIMING CHAIN
REMOVAL





1. Remove the timing chain cover.





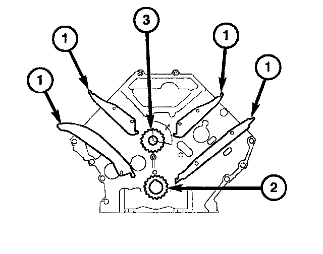
2. Remove the oil pump drive chain (2) and tensioner (1).





3. Remove the left and right camshaft sprocket bolts (1)
4. Remove the timing chain and camshaft sprockets.





5. Remove the timing chain crankshaft sprocket (2).
6. Clean and inspect all gasket surfaces, chain guides, and sprockets for wear or damage. Repair or replace as necessary.

INSTALLATION





1. Invert the engine on the engine stand.
2. Install the crankshaft sprocket (2).





3. Ensure the crankshaft has maintained 40 degrees ATDC If not, rotate until aligned with 40 degree marking.





4. Align the balance shaft sprocket with the timing mark (3) and the copper teeth (1) of the timing chain.
5. Insert the camshaft sprockets (6) into the timing chain and align the camshaft sprocket timing marks (4) and (5) with the copper teeth (1) of the timing chain.





6. Install the timing chain with the sprockets and route within in the timing chain guides (1).





7. Using Special Tools 9104 (1) and 9105 Camshaft Locating Plates, lock the camshaft sprockets.





8. Install the oil pump, the oil pump drive chain (2) and the oil pump drive chain tensioner (1).





9. Rotate the engine to the upright position.
10. Install the timing chain cover. Tighten the bolts to 20 Nm (15 ft. lbs.).
11. Remove Special Tools 9104 and 9105 Camshaft Locating Plates from the camshaft sprockets.