Operation CHARM: Car repair manuals for everyone.
Manuals through 2025 now available!

Our trusted friends have launched a new website named LEMON, which has newer manuals. It also contains all the CHARM manuals.

LEMON is the spiritual successor to CHARM, I recommend you try it!

Link: lemon-manuals.la or lemon-manuals.org.ua

(Some people have issue connecting. LEMON is investigating. For now, use Firefox or change your DNS server)

Or, hide this message: temporarily or permanently

Spark Plug: Description and Operation

SPARK PLUG

DESCRIPTION





The engine uses platinum tip resistor spark plugs. Platinum-tip spark plugs allow 100,000-mile (161,000-km) replacement intervals in normal service. They have resistance values of 6,000 to 20,000 ohms when checked with at least a 1000 volt tester.

Do not use an ohm meter to check the resistance of the spark plugs. This will give an inaccurate reading.





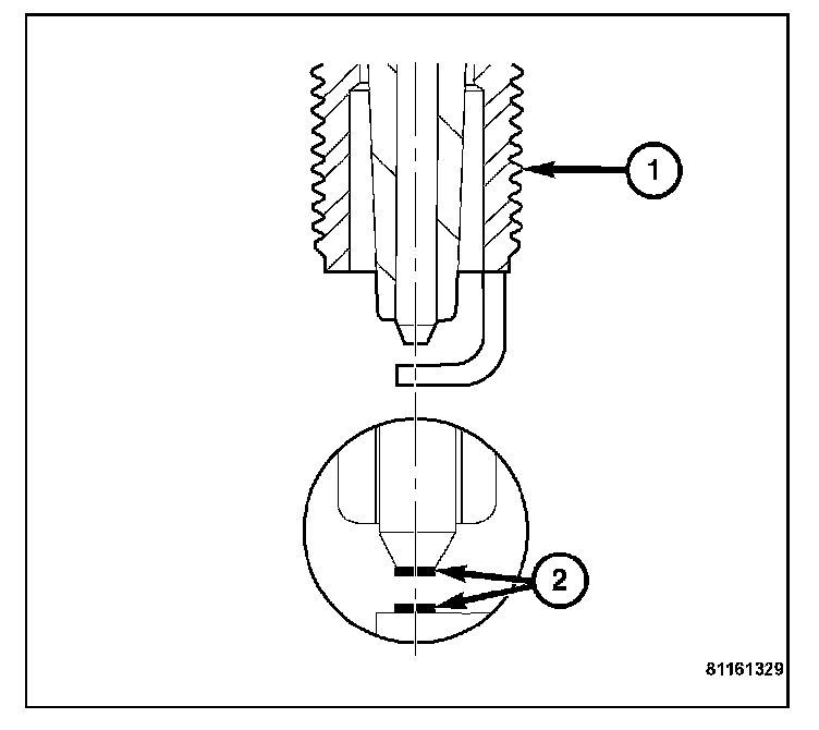
Spark plugs using either a single or double platinum tips have a recommended service life of 100,000 miles for normal driving conditions per schedule A in this manual. The spark plugs have a recommended service life of 75,000 miles for severe driving conditions. A thin platinum pad is welded to both or just the center electrode (2) end(s). Extreme care must be used to prevent spark plug cross threading, incorrect gapping, and ceramic insulator damage during plug removal and installation.

CAUTION: Cleaning of the platinum plug may damage the platinum tip.

OPERATION





The engine uses platinum tip resistor spark plugs. Platinum tip spark plugs allow 100,000-mile (161,000-km) replacement intervals in normal service. They have resistance values of 6,000 to 20,000 ohms when checked with at least a 1000 volt tester.

Do not use an ohm meter to check the resistance of the spark plugs. This will give an inaccurate reading.

Spark plugs using either a single or double platinum tips have a recommended service life of 100,000 miles for normal driving conditions per schedule A in this manual. The spark plugs have a recommended service life of 75,000 miles for severe driving conditions. A thin platinum pad is welded to the center electrode (2) ends. Extreme care must be used to prevent spark plug cross threading, incorrect gapping, and ceramic insulator damage during plug removal and installation.

Remove the spark plugs and examine them for burned electrodes and fouled, cracked or broken porcelain insulators. Keep the spark plugs arranged in the order in which they were removed from the engine. An isolated spark plug displaying an abnormal condition indicates that a problem exists in the corresponding cylinder.

Spark plugs that have low mileage may be cleaned and reused if not otherwise defective. Adjust the gap between the electrodes to 1.00 mm (.039 in.).

Always tighten spark plugs to the specified torque. Over tightening can cause distortion resulting in a change in the spark plug gap or damage to the cylinder head. Tighten the spark plugs to 28 N.m (21 ft. lbs.).