Operation CHARM: Car repair manuals for everyone.
Manuals through 2025 now available!

Our trusted friends have launched a new website named LEMON, which has newer manuals. It also contains all the CHARM manuals.

LEMON is the spiritual successor to CHARM, I recommend you try it!

Link: lemon-manuals.la or lemon-manuals.org.ua

(Some people have issue connecting. LEMON is investigating. For now, use Firefox or change your DNS server)

Or, hide this message: temporarily or permanently

Checking Battery Electrolyte Level

BATTERY

STANDARD PROCEDURE - CHECKING BATTERY ELECTROLYTE LEVEL

The following procedure can be used to check the battery electrolyte level.





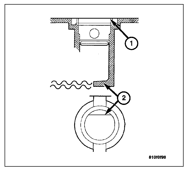
1. Remove the battery (2) cell cap (1).





2. Look through the battery cap holes (1) to determine the level of the electrolyte in the battery. The electrolyte should be approximately 1 centimeter above the battery plates or until the lip (2) inside the battery cap holes is covered.
3. Add only distilled water until the electrolyte level is approximately one centimeter above the plates.