Operation CHARM: Car repair manuals for everyone.
Manuals through 2025 now available!

Our trusted friends have launched a new website named LEMON, which has newer manuals. It also contains all the CHARM manuals.

LEMON is the spiritual successor to CHARM, I recommend you try it!

Link: lemon-manuals.la or lemon-manuals.org.ua

(Some people have issue connecting. LEMON is investigating. For now, use Firefox or change your DNS server)

Or, hide this message: temporarily or permanently

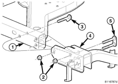
Installation






INSTALLATION




1. Position trailer hitch on vehicle.

2. Install the bolts and nuts (2, 3 and 5) attaching trailer hitch to frame rail and tighten to 183 Nm (135 ft. lbs.).

3. Connect the trailer wiring electrical connector.




4. Install the rear body rebound cushions (2) and cab mounting bolts (3) and tighten to 81 Nm (60 ft. lbs.).

5. Install the rear bumper.