Operation CHARM: Car repair manuals for everyone.
Manuals through 2025 now available!

Our trusted friends have launched a new website named LEMON, which has newer manuals. It also contains all the CHARM manuals.

LEMON is the spiritual successor to CHARM, I recommend you try it!

Link: lemon-manuals.la or lemon-manuals.org.ua

(Some people have issue connecting. LEMON is investigating. For now, use Firefox or change your DNS server)

Or, hide this message: temporarily or permanently

Removal






REMOVAL









1. Before proceeding with the following repair procedure, review all warnings and cautions.

2. Remove quarter panel trim. Refer to Trim Panel.

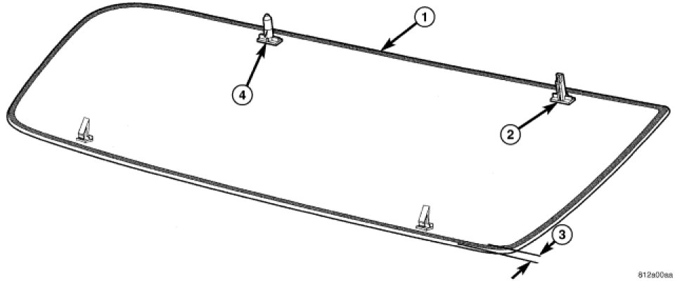
NOTE: Windshield removal shown, quarter glass similar.

3. Using a windshield cut-out wire (4) or other suitable tool, separate the adhesive (2).




4. Release the tabs (2) and the tabs on the alignment pin (4) and carefully remove the quarter glass.