Operation CHARM: Car repair manuals for everyone.
Manuals through 2025 now available!

Our trusted friends have launched a new website named LEMON, which has newer manuals. It also contains all the CHARM manuals.

LEMON is the spiritual successor to CHARM, I recommend you try it!

Link: lemon-manuals.la or lemon-manuals.org.ua

(Some people have issue connecting. LEMON is investigating. For now, use Firefox or change your DNS server)

Or, hide this message: temporarily or permanently

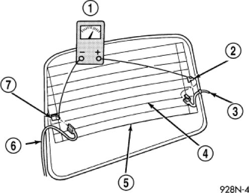
Heated Glass Element: Testing and Inspection






ELECTRIC BACKLIGHT (EBL) SYSTEM

NOTE: Illumination of the defogger switch indicator lamp does not necessarily mean that electrical current is reaching the rear glass heating grid lines.

NOTE: For circuit descriptions and diagrams of the rear window defogger system, refer to WIRING DIAGRAM INFORMATION.





Operation of the electrical backlight (EBL) system can be confirmed by the following:

1. Turn the ignition switch to RUN. Set the defogger switch to ON. The rear window defogger operation can be checked by feeling the rear window glass or outside rear view mirror glass surfaces (when equipped with heated mirrors). A distinct difference in temperature between the grid lines (4) and the adjacent clear glass or the mirror glass should be detected within three to four minutes of operation.

2. If a temperature difference is not detected, use a 12-volt DC voltmeter (1) and contact the rear glass heating grid ground terminal (7) with the negative lead, and the voltage feed terminal (2) with the positive lead. The voltmeter should read battery voltage. If the voltmeter does not read battery voltage, check the following:

- Confirm the ignition switch is in RUN.
- Confirm the rear window defogger switch is ON.
- Confirm the EBL feed wire (3) is connected to the heating grid positive terminal and that there is continuity between the EBL relay and the heating grid.
- Confirm the EBL ground wire (6) is connected to the heating grid negative terminal and that there is continuity to ground.
- Check the EBL relay and fuse 5 (40 amp) in the integrated power module (IPM). The relay and fuse must be tight in the receptacles and all electrical connections must be secure.
3. If broken defogger grid lines are suspected, use a 12-volt DC voltmeter and contact terminal B with the negative lead and each rear glass heating grid line at its mid-point (5) with the positive lead. The voltmeter should read approximately 6 volts at each grid line mid-point. If the voltmeter does not read approximately 6 volts, repair the open grid line(s).

4. When the above steps have been completed and the EBL system still does not operate, one or more of the following is inoperative. It may be necessary to connect a scan tool to perform further diagnostics.

- Rear window defogger switch in the A/C-heater control.
- J1850 bus communication between the A/C-heater control and the IPM.
- Rear window defogger (EBL) relay control circuits in the IPM.

5. If the EBL system operation has been verified but the rear window defogger LED indicator does not illuminate, replace the A/C-heater control.