Operation CHARM: Car repair manuals for everyone.
Manuals through 2025 now available!

Our trusted friends have launched a new website named LEMON, which has newer manuals. It also contains all the CHARM manuals.

LEMON is the spiritual successor to CHARM, I recommend you try it!

Link: lemon-manuals.la or lemon-manuals.org.ua

(Some people have issue connecting. LEMON is investigating. For now, use Firefox or change your DNS server)

Or, hide this message: temporarily or permanently

Wheel Alignment






WHEEL ALIGNMENT

PRE-WHEEL ALIGNMENT INSPECTION


Before any attempt is made to change or correct the wheel alignment, the following inspection and necessary corrections must be made to ensure proper alignment.

1. Verify that the fuel tank is full of fuel. If the tank is not full, the reduction in weight will affect the curb height of the vehicle and the alignment angles.
2. The passenger and luggage compartments of the vehicle should be free of any load that is not factory equipment.
3. Check the tires on the vehicle. All tires must be the same size and in good condition with approximately the same amount of tread wear. Inflate all the tires to the recommended air pressure.
4. Check the front wheel and tire assemblies for excessive radial runout.
5. Inspect lower ball joints and all steering linkage for looseness, binding, wear or damage. Repair as necessary.
6. Check suspension fasteners for proper torque and retighten as necessary.
7. Inspect all suspension component rubber bushings for signs of wear or deterioration. Replace any faulty bushings or components before aligning the vehicle.
8. Check the vehicle's curb height to verify it is within specifications. Refer to Curb Height Measurement.

WHEEL ALIGNMENT SETUP

1. Position the vehicle on an alignment rack.
2. Install all required alignment equipment on the vehicle per the alignment equipment manufacturer's instructions. On this vehicle, a four-wheel alignment is recommended.

NOTE: Prior to reading the vehicle's alignment readouts, the front and rear of vehicle should be jounced. Induce jounce (rear first, then front) by grasping the center of the bumper and jouncing each end of vehicle an equal number of times. The bumper should always be released when vehicle is at the bottom of the jounce cycle.

3. Read the vehicle's current front and rear alignment settings. Compare the vehicle's current alignment settings to the vehicle specifications for camber, caster and toe-in.
4. If front camber and caster are not within specifications, proceed to CAMBER AND CASTER below. If caster and camber are within specifications, proceed to TOE which can be found following CAMBER AND CASTER. Rear camber, caster and toe are not adjustable. If found not to be within specifications, reinspect for damaged suspension or body components and replace as necessary.

CAMBER AND CASTER


Camber and caster settings on this vehicle are determined at the time the vehicle is designed, by the location of the vehicle's suspension components. This is referred to as NET BUILD. The result is no required adjustment of camber and caster after the vehicle is built or when servicing the suspension components. Thus, when performing a wheel alignment, caster and camber are not normally considered adjustable angles. Camber and caster should be checked to ensure they meet vehicle specifications.


If front camber is found not to meet alignment specifications, it can be adjusted using an available camber adjustment bolt package. Before installing a camber adjustment bolt package on a vehicle found to be outside the specifications, inspect the suspension components for any signs of damage or bending.


CAUTION: Do not attempt to adjust the vehicles wheel alignment by heating, bending or by performing any other modification to the vehicle's front suspension components or body.

If camber readings are not within specifications, use the following procedure to install the front camber adjustment bolt package and then adjust front camber.


CAMBER ADJUSTMENT BOLT PACKAGE INSTALLATION


The camber adjustment bolt package contains 2 flange bolts, 2 cam bolts, 2 dog bone washers, and 4 nuts. This package services both sides of the vehicle. Use the package to attach the strut clevis bracket to the steering knuckle after the strut clevis bracket has been modified. To install and adjust the camber adjustment bolt package, follow the procedure below.

1. Raise the vehicle until its tires are not supporting the weight of the vehicle.
2. Remove the front tire and wheel assemblies.

CAUTION: When removing the steering knuckle from the strut clevis bracket, do not put a strain on the brake flex hose. Also, do not let the weight of the steering knuckle assembly be supported by the brake flex hose when removed from the strut assembly. If necessary use a wire hanger to support the steering knuckle assembly or if required remove the brake flex hose from the caliper assembly.

CAUTION: The knuckle to strut assembly attaching bolt shanks are serrated and must not be turned during removal. Remove the nuts while holding the bolts stationary.

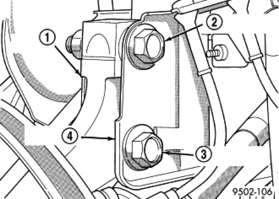
3. Remove the top and bottom, strut clevis bracket to steering knuckle attaching bolts (Figure 1)and discard. Separate the steering knuckle from the strut clevis bracket and position steering knuckle so it is out of the way of the strut.




Figure 1 Clevis Bracket To Steering Knuckle Attaching Bolts







CAUTION: When slotting the bottom mounting hole on the strut clevis bracket, do not enlarge the hole beyond the indentations on the sides of the strut clevis bracket (Figure 2).

4. Using an appropriate grinder and grinding wheel, slot the bottom hole in both sides of the strut clevis bracket (Figure 2).




Figure 2 Strut Clevis Bracket Bolt Hole Grinding Area







CAUTION: After slotting the strut clevis bracket hole, do not install the original attaching bolts when assembling the steering knuckle to the strut assembly. Only the flange bolts, cam bolts, and dog bone washers from the service package must be used to attach the steering knuckle to the strut after the mounting hole is slotted.

NOTE: The strut clevis-to-knuckle bolts are installed differently on each side of the vehicle. Left-hand-side bolts are installed from vehicle rear to front (Figure 3). Right-hand-side bolts are installed from vehicle front to rear.

5. Position the knuckle back into the strut clevis bracket. Using the direction indicated in the above note, install a flanged bolt from the service package into the upper mounting hole. Using the direction indicated in the above note, install a cam bolt into the bottom mounting hole (Figure 3).




Figure 3 Package Bolts Correctly Installed






6. Install a dog bone washer on the steering knuckle to strut clevis bracket attaching bolts, then install the nuts onto the bolts from the service package (Figure 4). Tighten the bolts just enough to hold the steering knuckle in position when adjusting camber, while still allowing the steering knuckle to move in clevis bracket.




Figure 4 Dog Bone Washer And Nuts Installed






7. Repeat the procedure to the other side strut clevis bracket.
8. Reinstall both front tire and wheel assemblies and tighten to specifications.
9. Lower the vehicle. Jounce the front and rear of vehicle an equal amount of times.
10. Adjust the front camber to the preferred setting by rotating the lower eccentric cam bolt against the cam stop areas on the strut clevis bracket (Figure 5). When camber is set, tighten the upper strut clevis bracket bolt and lower cam bolt. Again jounce front and rear of vehicle an equal amount of times and verify front camber setting. Torque both front strut to steering knuckle attaching bolts to 81 Nm (60 ft. lbs.) plus an additional 1/4 (90�) turn after the required torque is met.




Figure 5 Camber Adjustment Cam Bolt






11. If toe readings obtained are not within the required specification range, adjust toe to meet the preferred specification setting. Toe is adjustable using the following procedure.

TOE

1. Center the steering wheel and lock in place using a steering wheel clamp.

CAUTION: Do not twist front inner tie rod to steering gear rubber boots during front wheel Toe adjustment.

2. Loosen front inner to outer tie rod end jam nuts (Figure 6). Grasp inner tie rods at serrations and rotate inner tie rods of steering gear (Figure 6) to set front toe to the preferred toe specification.




Figure 6 Front Wheel Toe Adjustment






3. Tighten tie rod jam nuts (Figure 6) to 75 Nm (55 ft. lbs.) torque.
4. Adjust steering gear to tie rod boots at the inner tie rod.
5. Remove steering wheel clamp.
6. Remove the alignment equipment.
7. Road test the vehicle to verify the steering wheel is straight and the vehicle does not wander or pull.