Removal
REMOVAL
Remove fuel pump module.
1. Depress retaining tab and remove the fuel pump/level sensor connector from the bottom of the fuel pump module electrical connector (Figure 1).
NOTE: The pump module harness on TOP of flange is not serviceable or removable.
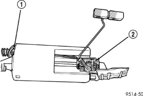
Figure 1 Fuel Pump/Level Sensor Electrical Connector
2. Pull off the locking wedge.
3. Using a small screwdriver lift locking finger away from terminal and push terminal out of connector (Figure 2).
Figure 2 Wire Terminal Locking Finger
4. Push level sensor signal and ground terminals out of the connector (Figure 3).
Figure 3 Removing Wires From
5. Insert a screwdriver between the fuel pump module and the top of the level sensor housing (Figure 4). Push level sensor down slightly.
Figure 4 Loosening Level Sensor
6. Slide level sensor wires through opening fuel pump module (Figure 5).
Figure 5 Level Sensor Removal/Installation
7. Slide level sensor out of installation channel in module.