Operation CHARM: Car repair manuals for everyone.
Manuals through 2025 now available!

Our trusted friends have launched a new website named LEMON, which has newer manuals. It also contains all the CHARM manuals.

LEMON is the spiritual successor to CHARM, I recommend you try it!

Link: lemon-manuals.la or lemon-manuals.org.ua

(Some people have issue connecting. LEMON is investigating. For now, use Firefox or change your DNS server)

Or, hide this message: temporarily or permanently

Installation






INSTALLATION

When replacing the spark plugs and spark plug cables, route the cables correctly and secure them in the appropriate retainers. Failure to route the cables properly can cause the radio to reproduce ignition noise, cross ignition of the spark plugs or short circuit the cables to ground.

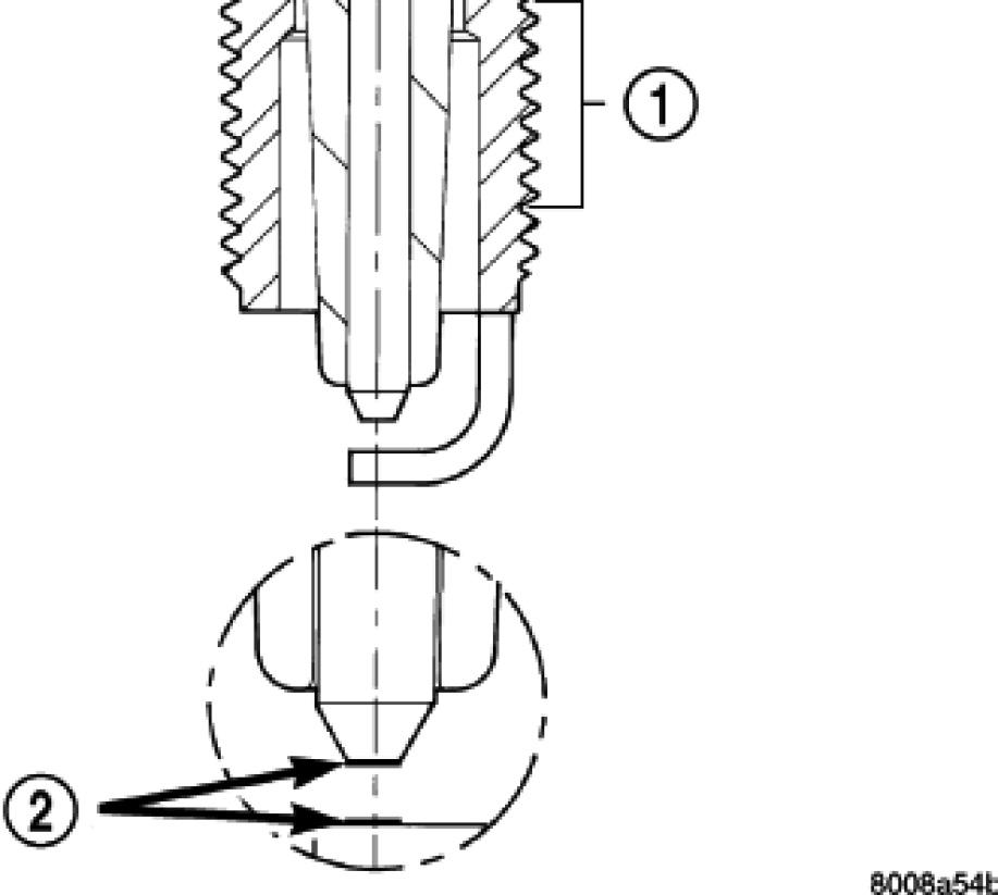
1. Coat threads of spark plug with anti-seize. Be sure not to get anti-seize ANYWHERE BUT ON THE THREADS OF THE SPARK PLUG as shown in (Figure 1).

2. To avoid cross threading, start the spark plug into the cylinder head by hand.

3. Tighten spark plugs to 17.5 Nm (13 ft.lbs.) torque.

4. Install spark plug cables over spark plugs. A click will be heard and felt when the cable properly attaches to the spark plug.






Figure 1 Platinum Pads