Operation CHARM: Car repair manuals for everyone.
Manuals through 2025 now available!

Our trusted friends have launched a new website named LEMON, which has newer manuals. It also contains all the CHARM manuals.

LEMON is the spiritual successor to CHARM, I recommend you try it!

Link: lemon-manuals.la or lemon-manuals.org.ua

(Some people have issue connecting. LEMON is investigating. For now, use Firefox or change your DNS server)

Or, hide this message: temporarily or permanently

Wheels and Tires: Testing and Inspection







DIAGNOSIS AND TESTING - TIRE AND WHEEL RUNOUT

WHEELS





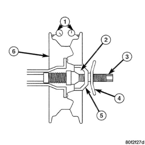
Radial runout (1) is the difference between the high and low points on the wheel. This is measured by using a dial indicator (1) on the inner portion of the wheel (6).





Lateral runout (2) is the side to side movement of the wheel. This is measured by using a dial indicator (1) on the inner portion of the wheel (6) rim.

TIRES





- Radial runout (1) of more than 1.5 mm (.060 inch) measured at the center line of the tread may cause the vehicle to shake.
- Lateral runout (2) of more than 1.0 mm (.040 inch) measured near the shoulder of the tire may cause the vehicle to shake.

Sometimes radial runout can be reduced. Relocate the wheel and tire assembly on the mounting bolts (See Method 1). If this does not reduce runout to an acceptable level, the tire can be rotated on the wheel. (See Method 2).

METHOD 1 (RELOCATE WHEEL ON HUB)





1. Drive the vehicle a short distance to eliminate tire flat spotting from a parked position.
2. Check the wheel bearings and adjust or replace if necessary.
3. Check the rear wheel mounting surface of the wheel hub.
4. Relocate the wheel on the mounting surface of the wheel hub (1), two bolts over from the original position.
5. To eliminate possible brake distortion, torque wheel bolts to proper specifications. Tighten the wheel bolts to 110 Nm (81 ft. lbs.).




6. Check the radial runout (1). If it is still excessive, mark the tire sidewall, wheel, and bolt at the point of maximum runout and proceed to Method 2.

METHOD 2 (RELOCATE TIRE ON WHEEL)

NOTE: Rotating the tire on wheel is particularly effective when there is runout in both tire and wheel.

1. Remove the tire from the wheel and mount the wheel on a service dynamic balance machine.
2. Check the wheel radial runout and the lateral runout.
-



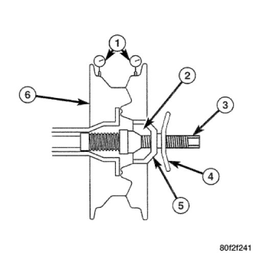
Radial runout (1). This is measured by using a dial indicator (1) on the inner portion of the wheel (6).
-



Lateral runout (1). This is measured by using a dial indicator (1) on the inner portion of the wheel (6) rim.

3. If the point of the greatest wheel lateral runout is near the original mark, remount the tire 180 degrees. Recheck the runout or match mount.