Operation CHARM: Car repair manuals for everyone.
Manuals through 2025 now available!

Our trusted friends have launched a new website named LEMON, which has newer manuals. It also contains all the CHARM manuals.

LEMON is the spiritual successor to CHARM, I recommend you try it!

Link: lemon-manuals.la or lemon-manuals.org.ua

(Some people have issue connecting. LEMON is investigating. For now, use Firefox or change your DNS server)

Or, hide this message: temporarily or permanently

Fuel Pump: Testing and Inspection







DIAGNOSIS AND TESTING - FUEL PUMP TEST

FUEL PUMP PRESSURE TEST

Use this test in conjunction with the Fuel Pump Capacity Test, Fuel Pressure Leak Down Test and Fuel Pump Amperage Test.

The Fuel Pump contains a one-way check valve to prevent fuel flow back into the tank and to maintain fuel supply line pressure (engine warm) when pump is not operational. It is also used to keep the fuel supply line full of gasoline when pump is not operational. After the vehicle has cooled down, fuel pressure may drop (cold fluid contracts), but liquid gasoline will remain in fuel supply line between the check valve and fuel injectors. When the Electric Fuel Pump is activated, fuel pressure should immediately rise (1-2 seconds) to specification.

The Fuel System is equipped with a separate Fuel Pump mounted to the chassis along side of the Fuel Filter/Pressure Regulator. The Fuel Filter/Pressure Regulator is not controlled by engine vacuum.

WARNING: The fuel system is under constant fuel pressure even with the engine off. Before disconnecting fuel line at fuel rail, this pressure must be released. Refer to the fuel system pressure release procedure.





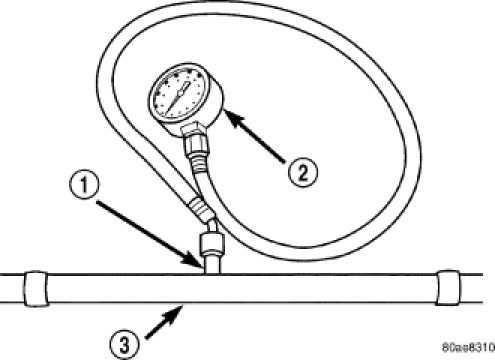
1. Remove the protective cap and connect the 0-6.9 bar fuel pressure gauge (2) to the fuel rail service test port pressure fitting (1) on the fuel rail (3). The DRB III(R) Scan Tool, the 34.4 bar pressure transducer, and the transducer-to-test port adapter may also be used in place of the fuel pressure gauge.
2. Start and warm engine and note pressure gauge reading. Fuel pressure should be 3.7 - 4.1 bar (54 - 60 psi) at idle.
3. If engine runs, but pressure is below 3.7 bar (54 psi), check for a kinked fuel supply line somewhere between fuel rail (3) and fuel pump. If line is not kinked, but specifications for either the Fuel Pump Capacity, Fuel Pump Amperage or Fuel Pressure Leak Down Tests were not met, replace the fuel pump. Refer to Fuel Pump removal/installation.
4. If operating pressure is above 4.1 bar (60 psi), electric fuel pump is OK, but fuel filter/pressure regulator is defective. Replace fuel filter/pressure regulator. Refer to Fuel Filter/Pressure Regulator removal/installation.
5. Install the protective cap to the service test port pressure fitting (1) on the fuel rail.

FUEL PUMP CAPACITY TEST

Before performing this test, verify fuel pump pressure. Refer to Fuel Pump Pressure Test. Use this test in conjunction with the Fuel Pressure Leak Down Test.

1. Release fuel system pressure. Service and Repair.
2. Disconnect fuel supply line at fuel rail.
3. Obtain the correct Fuel Line Pressure Test Adapter Tool Hose.
4. Connect the correct Fuel Line Pressure Test Adapter Tool Hose into disconnected fuel supply line. Insert other end of Adaptor Tool Hose into a graduated container.
5. Remove the fuel tank filler cap.
6. Turn the ignition switch to the ON/RUN position.
7. A good Fuel Pump will deliver 1 liter (1.05 qt.) of fuel in a maximum of 35 seconds.
a. If capacity is lower than specification, but Fuel Pump can be heard operating, check for a kinked/damaged fuel supply line somewhere between fuel rail and Fuel Pump.
b. If line is not kinked/damaged, and fuel pressure is OK, but capacity is low, replace fuel filter/pressure regulator assembly. Removal.
c. If both fuel pressure and capacity are low, replace the Fuel Pump and the Fuel Filter/Pressure Regulator assemblies. Removal Removal

FUEL PUMP AMPERAGE TEST

This amperage (current draw) test is to be done in conjunction with the Fuel Pump Pressure Test, Fuel Pump Capacity Test and Fuel Pressure Leak Down Test. Before performing the amperage test, be sure the temperature of the fuel tank is above 10° C (50° F).





The DRB III(R) Scan Tool along with the DRB III(R) Low Current Shunt (LCS) adapter, and its test leads, will be used to check fuel pump amperage specifications.

1. Be sure fuel tank contains fuel before starting test. If tank is empty or near empty, amperage readings will be incorrect.
2. Obtain LCS adapter (1).
3. Plug cable from LCS adapter (2) into DRB III(R) scan tool at SET 1 receptacle.
4. Plug DRB III(R) into vehicle 16-way connector (data link connector).
5. Connect (-) and (+) test cable leads into LCS adapter receptacles (3). Use 10 amp (10A +) receptacle and common (-) receptacles.
6. Gain access to MAIN MENU on DRB III(R) screen.
7. Press DVOM button on DRB III(R).
8. Using left/right arrow keys, highlight CHANNEL 1 function on DRB III(R) screen.
9. Press ENTER three times.
10. Using up/down arrow keys, highlight RANGE on DRB III(R) screen (screen will default to 2 amp scale).
11. Press ENTER to change 2 amp scale to 10 amp scale. This step must be done to prevent damage to DRB III(R) Scan Tool or LCS adapter (blown fuse).
12. Remove cover from Control Module Box and remove the fuel pump relay fuse (Refer to label on Control Module Box cover for fuse location).

WARNING: Before proceeding to next step, note the fuel pump will be activated and system pressure will be present. This will occur after connecting test leads from lcs adapter into fuel pump fuse cavities. The fuel pump will operate even with ignition key in off position. Before attaching test leads, be sure all fuel lines and fuel system components are connected.

CAUTION: To prevent possible damage to the vehicle electrical system and LCS adapter, the test leads must be connected into fuse cavities.

13. Attach the test leads from LCS adapter into the fuel relay fuse cavities. For location of these cavities, refer to component locator views.
14. When the LCS adapter test leads are attached to the fuel pump relay fuse cavities, the fuel pump will be activated. Determine fuel pump amperage on DRB III(R) screen. Amperage should be below 9.0 amps. If amperage is below 9.0 amps, and specifications for the Fuel Pump Pressure, Fuel Pump Capacity and Fuel Pressure Leak Down tests were met, the fuel pump is OK.
15. If amperage is more than 9.0 amps, replace the fuel pump assembly. The Electric Fuel Pump is serviced separately.
16. Disconnect test leads from relay fuse cavities immediately after testing.