Operation CHARM: Car repair manuals for everyone.
Manuals through 2025 now available!

Our trusted friends have launched a new website named LEMON, which has newer manuals. It also contains all the CHARM manuals.

LEMON is the spiritual successor to CHARM, I recommend you try it!

Link: lemon-manuals.la or lemon-manuals.org.ua

(Some people have issue connecting. LEMON is investigating. For now, use Firefox or change your DNS server)

Or, hide this message: temporarily or permanently

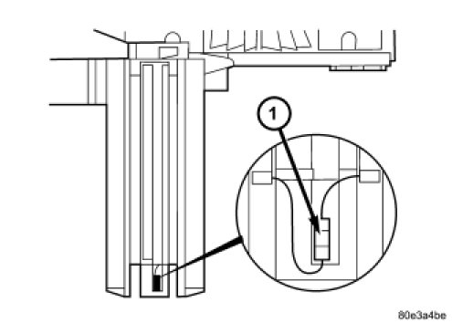
Transmission Temperature Sensor







TRANSMISSION TEMPERATURE SENSOR





The transmission oil temperature sensor (1) is located in the shell of the electric valve control unit and is fixed to the conductor tracks.

Its purpose is to measure the temperature of the transmission oil and pass the temperature to the TCM as an input signal. It is a temperature-dependent resistor (PTC).