Operation CHARM: Car repair manuals for everyone.
Manuals through 2025 now available!

Our trusted friends have launched a new website named LEMON, which has newer manuals. It also contains all the CHARM manuals.

LEMON is the spiritual successor to CHARM, I recommend you try it!

Link: lemon-manuals.la or lemon-manuals.org.ua

(Some people have issue connecting. LEMON is investigating. For now, use Firefox or change your DNS server)

Or, hide this message: temporarily or permanently

Assembly







ASSEMBLY

NOTE: If the transmission is being reconditioned (clutch/seal replacement) or replaced, it is necessary to perform the TCM Adaptation Procedure using the scan tool .





1. Insert parking lock gear (5).
2. Install multiple-disc holding clutch B2 (4) in transmission housing (6).
3. Screw in both Torx socket bolts (7). Tighten the bolts to 16 Nm (141 in.lbs.).




NOTE: During the measurement the snap ring (7) must contact the upper bearing surface of the groove in the outer multiple-disc carrier (8).

NOTE: Pay attention to sequence of discs. If the original clutch discs are reused, be sure to return the disc identified on disassembly as belonging on top of the spring washer (4) to its original location. Place new friction multiple-discs in ATF fluid for one hour before installing.

4. Insert and measure spring washer (4) and multiple-disc pack B3 (2, 6).
a. Put multiple-discs for multiple-disc holding clutch B3 together in the sequence shown in the illustration and insert individually.
b.
CAUTION: Apply only light pressure (less than 10 N (3 lbs.) of force) to the clutch pack when measuring the clutch clearance with the feeler gauge. Applying excessive force to the clutch will give an incorrect reading and lead to a transmission failure.
Using a feeler gauge, determine the play "L" at three points between the snap ring (7) and outer multiple-disc (1). B3 clutch clearance should be 1.0-1.4 mm (0.039-0.055 in.). Adjust the clearance as necessary.
c. Adjust with snap-ring (7), if necessary. Snap-rings are available in thicknesses of 3.2 mm (0.126 in.), 3.5 mm (0.138 in.), 3.8 mm (0.150 in.), 4.1 mm (0.162 in.), 4.4 mm (0.173 in.), and 4.7 mm (0.185 in.).




5. Check that the K1 clutch feed hole (1) in the inner hub of clutch B1 is free before installing clutch B1.




6. Place intermediate plate (3) on converter housing (2) and align.

NOTE: The intermediate plate can generally be used several times. The plate must not be coated with additional sealant

7. Install the holding clutch B1 (5) onto the converter housing and intermediate plate. Installed position of clutch B1 in relation to converter housing is specified by a plain dowel pin in clutch B1 (arrow).
8. Install the bolts to hold clutch B1 (5) to the converter housing.
9. Securely tighten multiple-disc holding clutch B1 (5) on converter housing (2) to 10 Nm (88.5 in.lbs.).




10. Install new torque converter hub seal (1) into the oil pump using Seal Installer 8902A.
11. Install new oil pump outer o-ring seal onto oil pump.
12. Install oil pump (6) and securely tighten. Tighten the oil pump bolts to 20 Nm (177 in.lbs.).




13. Using grease, insert sealing rings (7) in the groove so that the joint remains together.
14. Install the K1 (1) clutch onto the B1 clutch.
15. Install input shaft with clutch K2 (6) and front gear set (1).
16. Install front washer (5) and thrust needle bearing (4).
17. Install output shaft with center and rear gear set and clutch K3 (3).




18. Using grease, install both Teflon rings in the groove at the rear of the output shaft so that the joint stays together.
19. Mount transmission housing on converter housing.
20. Screw in Torx socket bolts through the transmission housing into the converter housing. Tighten the bolts to 20 Nm (177 in.lbs.).

NOTE: Verify that there are no nicks or other irregularities in the surface of the transmission case that will cause an inaccurate measurement.

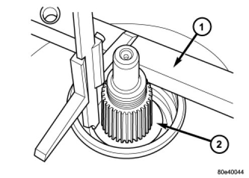
21. Measure end-play between park pawl gear and grooved ball bearing in order to select the proper geartrain end-play shim.
22. Place Gauge Bar 6311 (1) on transmission housing. Using a depth gauge, measure from the gauge bar (1) to the parking lock gear (2).




23. Using a depth gauge, measure from the Gauge Bar 6311 (1) to the contact surface of the output shaft bearing (2) in the transmission housing.
24. Subtract the first figure from the second figure to determine the current end-play of the transmission. Select a shim such that the end-play will be 0.3-0.5 mm (0.012-0.020 in.). Shims are available in thicknesses of 0.2 mm (0.008 in.), 0.3 mm (0.012 in.), 0.4 mm (0.016 in.), and 0.5 mm (0.020 in.).
25. Install the selected end-play shim.




26. Screw in Torx socket bolts through the converter housing into the transmission housing. Tighten the bolts to 20 Nm (177 in.lbs.).
27. Install output shaft bearing (2) in rear transmission housing. Using Bearing Installer 9287 (1), install the output shaft bearing (2) into the transmission housing. The closed side of the plastic cage must point towards the parking lock gear.




28. Install the retaining ring (1). Ensure that the retaining ring is seated correctly in the groove.
29. Check that there is no play between the bearing and the retaining ring using feeler gauge.
30. There must be no play between the retaining ring and the bearing. If the ring cannot be installed, a thinner ring must be used. If there is play between the ring and the bearing, a thicker ring must be installed. Retaining rings are available in thicknesses of 2.0 mm (0.079 in.), 2.1 mm (0.083 in.), and 2.2 mm (0.087 in.).




31. Rotate the transmission so that the bellhousing is pointed upward and ensuring that the output shaft is allowed to move freely.
32. Measure input shaft end-play.

NOTE: If end-play is incorrect, transmission is incorrectly assembled, or the geartrain end-play shim is incorrect. The geartrain end-play shim is selective.

a. Attach Adapter 8266-18 (2) to Handle 8266-8 (1).
b. Attach dial indicator C-3339 (3) to Handle 8266-8 (1).
c. Install the assembled tool onto the input shaft of the transmission and tighten the retaining screw on Adapter 8266-18 to secure it to the input shaft.
d. Position the dial indicator plunger against a flat spot on the oil pump and zero the dial indicator.
e. Move input shaft in and out and record reading. End play should be 0.3-0.5 mm (0.012-0.020 in.). Adjust as necessary.




33. Install the output shaft washer onto the output shaft.
34. Install a new transmission rear seal into the transmission case with Seal Installer 8902A (1).




35. Place the transmission in PARK to prepare for the installation of the output shaft nut.
36. Install the propeller shaft flange onto the output shaft and install an new flange nut. Tighten the flange nut to 200 Nm (147.5 ft.lbs.).
37. Place the Staking Tool 9078 (2) and Driver Handle C-4171 onto the output shaft.
38. Rotate the Staking Tool 9078 (2) until the alignment pin (3) engages the output shaft notch (4).




39. Press downward on the staking tool (1) until the staking pin (3) contacts the output shaft nut flange (2).
40. Strike the Driver handle C-4171 with a suitable hammer until the output shaft nut is securely staked to the output shaft.




41. Install electrohydraulic unit (2). Tighten the bolts to 8 Nm (71 in.lbs.).
42. Install oil filter (4).
43. Install oil pan (5). Tighten the bolts to 8 Nm (71 in.lbs.).
44. Install guide bushing (12).




45. Install the torque converter.