Operation CHARM: Car repair manuals for everyone.
Manuals through 2025 now available!

Our trusted friends have launched a new website named LEMON, which has newer manuals. It also contains all the CHARM manuals.

LEMON is the spiritual successor to CHARM, I recommend you try it!

Link: lemon-manuals.la or lemon-manuals.org.ua

(Some people have issue connecting. LEMON is investigating. For now, use Firefox or change your DNS server)

Or, hide this message: temporarily or permanently

Assembly







ASSEMBLY





1. Install piston (6) in the outer multiple-disc carrier (8). Check sealing ring (7), replace if necessary. The rounded off edges of the sealing ring must point outwards.
2. Insert disc spring (5). Insert disc spring with the curvature towards the piston.
3. Mount the Multi-use Spring Compressor 8900 (9) on the spring plate and clamp until the snap-ring groove is exposed.
4. Insert snap-ring (4). The collar of the snap-ring must point towards the multiple-disc pack.

CAUTION: When working with double sided friction discs, an externally lugged steel plate is installed first, followed by a friction disc, and continuing on until all the required discs are installed. When working with single sided friction discs, an externally lugged disc is installed first, followed by an internally lugged disc, and continuing on until all the required discs are installed. All single sided discs are installed with the friction side up.

NOTE: Pay attention to the sequence of discs. If the original clutch discs are reused, be sure to return the disc identified on disassembly as belonging on top of the spring plate (3) to its original location.

NOTE: Place new friction multiple-discs in ATF fluid for one hour before installing.

5. Install disk spring (3) and multiple-disc pack (2) in outer multiple-disc carrier (8).
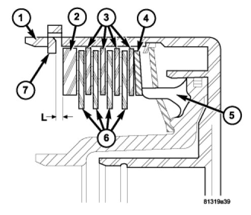
6. Insert snap-ring (1).




7. Measure the K3 clutch clearance by mounting Pressing Tool 8901 (1) on outer multiple disc.
8. Using a lever press, compress pressing tool as far as the stop (then the marking ring is still visible, see small arrow).




9. For transmissions using double sided friction discs, use a feeler gauge to determine the play "L" at three points between the snap-ring (8) and outer multiple-disc (2).
10. During the measurement the snap-ring (8) must contact the upper bearing surface of the groove in the outer multiple-disc carrier.
11. The correct clutch clearance for transmissions with double sided friction discs is 2.3-2.7 mm (0.091-0.106 in.) for three friction disc versions, 2.4-2.8 mm (0.095-0.110 in.) for four disc versions, and 2.5-2.9 mm (0.099-0.114 in.) for five disc versions.
12. Adjust with snap-ring (8), if necessary. Snap-rings are available in thicknesses of 2.0 mm (0.079 in.), 2.3 mm (0.091 in.), 2.6 mm (0.102 in.), 2.9 mm (0.114 in.), 3.2 mm (0.126 in.), and 3.5 mm (0.138 in.).




13. For transmissions using single sided friction discs, use a feeler gauge to determine the play "L" at three points between the snap-ring (7) and outer multiple-disc (2).
14. During the measurement the snap-ring (7) must contact the upper bearing surface of the groove in the outer multiple-disc carrier.
15. The correct clutch clearance for transmissions with single sided friction discs is 2.3-2.7 mm (0.091-0.106 in.) for six friction disc versions, 2.4-2.8 mm (0.095-0.110 in.) for eight disc versions, and 2.5-2.9 mm (0.099-0.114 in.) for ten disc versions.
16. Adjust with snap-ring (7), if necessary. Snap-rings are available in thicknesses of 2.0 mm (0.079 in.), 2.3 mm (0.091 in.), 2.6 mm (0.102 in.), 2.9 mm (0.114 in.), 3.2 mm (0.126 in.), and 3.5 mm (0.138 in.).