Operation CHARM: Car repair manuals for everyone.
Manuals through 2025 now available!

Our trusted friends have launched a new website named LEMON, which has newer manuals. It also contains all the CHARM manuals.

LEMON is the spiritual successor to CHARM, I recommend you try it!

Link: lemon-manuals.la or lemon-manuals.org.ua

(Some people have issue connecting. LEMON is investigating. For now, use Firefox or change your DNS server)

Or, hide this message: temporarily or permanently

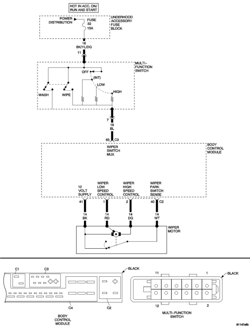
Wipers Inoperative







*WIPERS INOPERATIVE









For a complete Wipers/Washers Circuit Diagram, Schematics and Diagrams.

1. TEST THE WIPER MOTOR




Turn the ignition off.
Disconnect the Body Control Module (BCM) C2 harness connector.

NOTE: Check connectors - Clean/repair as necessary.

Connect a jumper wire between cavity 1 of the BCM C2 harness connector and B(+).
Connect a jumper wire between cavity 41 of the BCM C2 harness connector and ground.
With the jumper wires connected, does the Wiper Motor move?

Yes

- Go to 2

No

- Replace the Wiper Motor. Wiper Motor - Removal
- Perform BODY VERIFICATION TEST. Body Verification Test

2. MEASURE WIPER SWITCH MUX CIRCUIT VOLTAGE




Turn the ignition off.
Disconnect the Body Control Module (BCM) harness connector.

NOTE: Check connectors - Clean/repair as necessary.

Turn the ignition on.
Measure the voltage of the Wiper Switch Mux circuit at the BCM C3 connector cavity 65 with the Wiper Switch in the High position.
Is the voltage approximately 12 volts?

Yes

- Replace the Body Control Module. Body Control Module - Removal
- Perform BODY VERIFICATION TEST. Body Verification Test

No

- Go to 3

3. MEASURE WIPER/WASHER FUSED B(+) CIRCUIT VOLTAGE




NOTE: Inspect Fuse 32 located in the Underhood Accessory Fuse Block. If the fuse is open, repair the cause of the open fuse before continuing.

Turn the ignition off.
Disconnect the Multi-Function Switch harness connector.

NOTE: Check connectors - Clean/repair as necessary.

Turn the ignition on.
Measure the voltage of the Fused B(+) circuit at the Multi-Function Switch harness connector.
Is the voltage above 10 volts?

Yes

- Go to 4

No

- Repair the Fused B(+) circuit for an open.
- Perform BODY VERIFICATION TEST. Body Verification Test

4. MEASURE WIPER SWITCH RESISTANCE




Measure the resistance of the Wiper Switch from the Multi-Function Switch connector with the wiper switch in intermittent, then low, then high positions.
Are the resistance readings below 1K ohms?

Yes

- Repair the Wiper Switch Mux circuit for an open.
- Perform BODY VERIFICATION TEST. Body Verification Test

No

- Replace the Multi-Function Switch. Removal
- Perform BODY VERIFICATION TEST. Body Verification Test