Operation CHARM: Car repair manuals for everyone.
Manuals through 2025 now available!

Our trusted friends have launched a new website named LEMON, which has newer manuals. It also contains all the CHARM manuals.

LEMON is the spiritual successor to CHARM, I recommend you try it!

Link: lemon-manuals.la or lemon-manuals.org.ua

(Some people have issue connecting. LEMON is investigating. For now, use Firefox or change your DNS server)

Or, hide this message: temporarily or permanently

Disassembly







DISASSEMBLY





NOTE: The transfer shaft should be removed for differential repair and bearing turning torque checking.

1. Remove the differential cover and bolts (1).




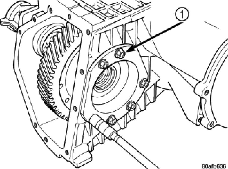
2. Remove the differential bearing retainer bolts (1).




3. Remove the differential bearing retainer (1) using Bearing Puller L-4435 (2).




4. Using a plastic hammer, remove extension housing/adapter plate on the right side of the transaxle.

WARNING: Hold onto differential assembly to prevent it from rolling out of housing.

5. Remove differential assembly.
6. Set up Dial Indicator Set C-3339 (2) and Adapter C-4996 (1) to measure side gear end play (Extension Housing Side). Side gear end play must be within 0.001-0.013 in.




7. Set up Dial Indicator Set C-3339 (2) and Adaptor C-4996 (1) to measure side gear end play (Ring Gear Side).Side gear end play must be within 0.001-0.013 in.




8. Remove differential side bearing cone (3) from ring gear side of differential. Install Thrust Button L-4539-2 (2), and Collets 5048-4 (1).




9. Install Puller Set 5048 (1), Collets 5048-4 (2) and sleeve. Remove and discard bearing cone.




10. Remove differential side bearing cone from outboard end (opposite ring gear) of differential. Install Thrust Button L-4539-2 (1).




11. Install Puller Set 5048 (1), (2) Collets 5048-3 and sleeve. Remove and discard bearing cone.




12. Remove pinion shaft retainer plate bolts (1).




13. Remove pinion shaft retainer (1).




14. Remove pinion shaft (1) from differential case.




15. Rotate pinion gears (2) about case and remove (w/washer) (1).




16. Remove differential side gears (1).




17. Remove side gear thrust washers (1).




18. Remove remaining differential ring gear-to-case bolts (1).




19. Using a soft-faced hammer (1), remove ring gear (2) from case.




20. Using Remover 6062A, remove the differential bearing race from the extension housing/adapter plate.




21. Using Remover 6062A, remove the differential bearing race from the bearing retainer.