Operation CHARM: Car repair manuals for everyone.
Manuals through 2025 now available!

Our trusted friends have launched a new website named LEMON, which has newer manuals. It also contains all the CHARM manuals.

LEMON is the spiritual successor to CHARM, I recommend you try it!

Link: lemon-manuals.la or lemon-manuals.org.ua

(Some people have issue connecting. LEMON is investigating. For now, use Firefox or change your DNS server)

Or, hide this message: temporarily or permanently

Procedures






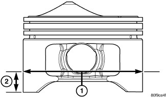
PISTON TO CYLINDER BORE FITTING










NOTE: Pistons and cylinder bores should be measured at normal room temperature, 21°C (70°F).

Piston and cylinder wall must be clean and dry. Piston diameter should be measured 90 degrees to piston pin.

Non-Turbo:

- Measurement should be taken approximately 14 mm (0.551 in.) from the bottom of the skirt (2) as shown.

Turbo:










- Measurement should be taken approximately 22 mm (0.866 in.) from the bottom of the skirt (2) as shown.





Cylinder bores should be measured halfway down the cylinder bore and transverse (measurement location B) to the engine crankshaft center line shown. Refer to for Engine SpecificationsEngine Specifications. Correct piston to bore clearance must be established in order to assure quiet and economical operation.