Operation CHARM: Car repair manuals for everyone.
Manuals through 2025 now available!

Our trusted friends have launched a new website named LEMON, which has newer manuals. It also contains all the CHARM manuals.

LEMON is the spiritual successor to CHARM, I recommend you try it!

Link: lemon-manuals.la or lemon-manuals.org.ua

(Some people have issue connecting. LEMON is investigating. For now, use Firefox or change your DNS server)

Or, hide this message: temporarily or permanently

Automatic Transmission/Transaxle: Adjustments






ADJUSTMENTS

DIFFERENTIAL BEARING PRELOAD ADJUSTMENT USING EXISTING SHIM










NOTE: Perform all differential bearing preload measurements with the transfer shaft and gear removed.

1. Position the transaxle assembly vertically on the support stand, differential bearing retainer (3) side up.
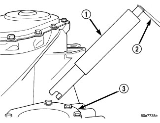
2. Install Differential Tool L-4436-A (1) into the differential and onto the pinion mate shaft.










3. Rotate the differential at least one full revolution to ensure the tapered roller bearings are fully seated.
4. Using Differential Tool L-4436-A (1) and an Inch-Pound Torque Wrench (2), check the turning torque of the differential. The turning torque should be between 5 and 18 inch-pounds.
5. If the turning torque is within specifications, remove tools. Setup is complete.
6. If turning torque is not within specifications, proceed with the following steps.
a. Remove differential bearing retainer from the transaxle case.
b. Remove the bearing cup from the differential bearing retainer using Remover 6062A.
c. Remove the existing shim from under the cup.
d. Measure the existing shim.
e. If the turning torque was too high when measured, install a 0.05 mm (0.002 inch) thinner shim. If the turning torque is was too low, install a 0.05 mm (0.002 inch) thicker shim. Repeat until 5 to 18 inch-pounds turning torque is obtained. Oil baffle is not required to be installed when making shim selection.
f. Install the proper shim under the bearing cup. Make sure the oil baffle is installed properly in the bearing retainer, below the bearing shim and cup.
g. Install the differential bearing retainer using Installer 5052 and Handle C-4171. Seal the retainer to the housing with MOPAR(R) Adhesive Sealant and torque bolts to 28 Nm (250 in. lbs.).

7. Using Differential Tool L-4436-A and an Inch-Pound Torque Wrench, recheck the turning torque of the differential. The turning torque should be between 5 and 18 inch-pounds.

Shim thickness need be determined only if any of the following parts are replaced:

- Transaxle case
- Differential carrier
- Differential bearing retainer
- Extension housing
- Differential bearing cups and cones

DIFFERENTIAL BEARING SHIM CHART






PRELOAD ADJUSTMENT W/O SHIM

1. Remove the bearing cup from the differential bearing retainer using Remover 6062A.
2. Remove existing shim from under bearing cup.
3. Reinstall the bearing cup into the retainer using Installer 6061, and HandleC-4171.

NOTE: Oil baffle is not required when making the shim calculation.

4. Install the bearing retainer into the case. Tighten bolts to 28 Nm (250 in. lbs.).
5. Position the transaxle assembly vertically on the support stand and install Differential Tool L-4436-A into the bearing retainer.
6. Rotate the differential at least one full revolution to ensure the tapered roller bearings are fully seated.
7. Attach a dial indicator to the case and zero the dial. Place the tip on the end of Differential Tool L-4436-A.
8. Place a large screwdriver to each side of the ring gear and lift. Check the dial indicator for the amount of end play.

CAUTION: Do not damage the transaxle case and/or differential retainer sealing surface.

9. Using the end play measurement that was determined, add 0.18 mm (0.007 inch). This should give you between 5 and 18 inch pounds of bearing preload. Refer to the Differential Bearing Shim Chart to determine which shim to use.
10. Remove the differential bearing retainer. Remove the bearing cup.
11. Install the oil baffle. Install the proper shim combination under the bearing cup.
12. Install the differential bearing retainer. Seal the retainer to the housing with Mopar(R) Silicone Rubber Adhesive Sealant. Tighten bolts to 28 Nm (250 in. lbs.).
13. Using Differential Tool L-4436-A and an inch-pound torque wrench, check the turning torque of the differential. The turning torque should be between 5-18 inch-pounds.

NOTE: If turning torque is too high, install a 0.05 mm (0.002 inch) thicker shim. If the turning torque is too low, install a 0.0 5mm (0.002 inch) thinner shim. Repeat until 5-18 inch-pounds of turning torque is obtained.