Operation CHARM: Car repair manuals for everyone.
Manuals through 2025 now available!

Our trusted friends have launched a new website named LEMON, which has newer manuals. It also contains all the CHARM manuals.

LEMON is the spiritual successor to CHARM, I recommend you try it!

Link: lemon-manuals.la or lemon-manuals.org.ua

(Some people have issue connecting. LEMON is investigating. For now, use Firefox or change your DNS server)

Or, hide this message: temporarily or permanently

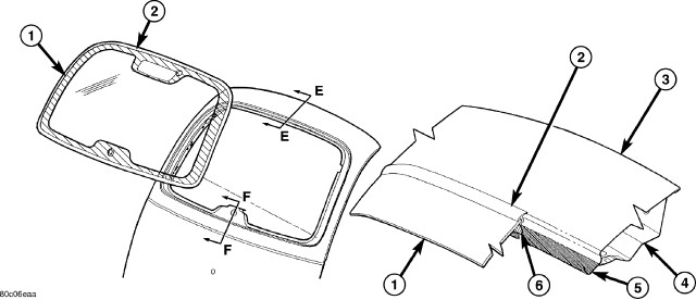
Backlite - Installation






INSTALLATION

WARNING: Do not operate the vehicle within 24 hours of windshield installation. It takes at least 24 hours for urethane adhesive to cure. If it is not cured, the windshield may not perform properly in an accident. Be sure to refer to the urethane manufacturer's directions for curing time specifications, and do not use adhesive after its expiration date.

CAUTION: Open the left front door glass before installing the rear window to avoid pressurizing the passenger compartment if a door is slammed before the urethane bonding is fully cured. Water leaks can result.

Refer to the Windshield Removal procedure for a description of tools and adhesive systems that are recommended for use in this procedure.










1. Install the Liftgate window molding (2) on glass (1).
2. Apply a 10 mm (0.4 in.) bead of urethane around the perimeter of the glass (1).
3. Place liftgate window glass (1) into position.
4. Install the glass in the same manner described in the Windshield Install.










5. Connect rear window defogger wiring (2).
6. After urethane has cured, water test rear window to verify repair. Verify rear window defogger operation.
7. Install and connect the CHMSL lamp.
8. Install liftgate trim panels.