Operation CHARM: Car repair manuals for everyone.
Manuals through 2025 now available!

Our trusted friends have launched a new website named LEMON, which has newer manuals. It also contains all the CHARM manuals.

LEMON is the spiritual successor to CHARM, I recommend you try it!

Link: lemon-manuals.la or lemon-manuals.org.ua

(Some people have issue connecting. LEMON is investigating. For now, use Firefox or change your DNS server)

Or, hide this message: temporarily or permanently

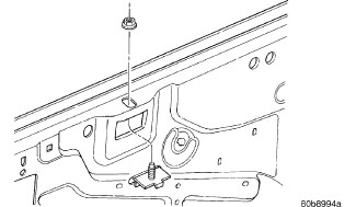
Inner Belt Stabilizer - Installation






INSTALLATION





1. Place inner belt stabilizer into position.
2. Install nut attaching inner belt stabilizer to door panel. Adjust inner belt stabilizer against glass with enough tension to allow free up and down movement.
3. Install door trim panel.