Operation CHARM: Car repair manuals for everyone.
Manuals through 2025 now available!

Our trusted friends have launched a new website named LEMON, which has newer manuals. It also contains all the CHARM manuals.

LEMON is the spiritual successor to CHARM, I recommend you try it!

Link: lemon-manuals.la or lemon-manuals.org.ua

(Some people have issue connecting. LEMON is investigating. For now, use Firefox or change your DNS server)

Or, hide this message: temporarily or permanently

Part 2






ASSEMBLY










35. TRANSFER GEAR BEARING ADJUSTMENT:
a. Install a 4.66 mm (0.184 in.) gauging shim (3) on the transfer shaft.
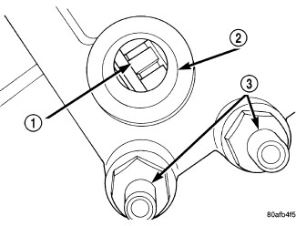
b. Install transfer shaft gear using Installer 6261. Using Holder 6259, install transfer shaft gear retaining nut to 271 Nm (200 ft. lbs.).
c. Measure end play. Attach Gear Checking Plate L4432 to the transfer gear.
d. Mount a steel ball with grease into the end of the transfer shaft.
e. Push and pull the gear while rotating back and forth to ensure seating of the bearing rollers.
f. Using a Dial Indicator, measure transfer shaft end play.
g. Refer to the transfer shaft bearing shim chart for the required shim combination to obtain the proper bearing setting.
h. Use Holder 6259 to remove the retaining nut and washer. Remove the transfer shaft gear using Gear Puller L-4407A.
i. Remove the gauging shim and install the proper shim indicated by the chart.
TRANSFER SHAFT BEARING SHIM CHART



















36. Install the transfer shaft gear (4) using Installer 6261 (2).










CAUTION: Install a NEW retaining nut, as the original nut MUST NOT be reused.

37. Install the new retaining nut and washer.
38. Using Holder 6259 (4), tighten transfer gear retaining nut to 271 Nm (200 ft. lbs.).










39. Measure transfer shaft end play. Transfer shaft end play should be within 0.05-0.10 mm (0.002-0.004 in.). If the end play is too high, install a 0.04 mm (0.0016 in.) thicker shim. If the end play is too low, install a 0.04 mm (0.0016 in.) thinner shim. Repeat until 0.05-0.10 mm (0.002-0.004 in.) end play is obtained.
40. Install a bead of Mopar(R) ATF RTV (MS-GF41) (2) to transfer gear cover.










41. Install transfer gear cover-to-case bolts (1) and torque to 20 Nm (175 in. lbs.) torque.










42. Install low/reverse clutch pack (1,2). Leave uppermost disc out until snap ring is installed.










43. Install low/reverse reaction plate flat snap ring (2).










44. Install remaining low/reverse clutch disc (1).










45. Install low/reverse reaction plate with flat side up (1).





46. Proper installation of snap ring (with tapered side up).










47. Install tapered snap ring (with tapered side up).










48. Set up Dial Indicator (1) and Indicator 6268 (2) to measure low/reverse clutch clearance. Press down on clutch pack with finger and zero dial indicator. Low/Reverse clutch pack clearance is 0.89-1.47 mm (0.035-0.058 in.). Set up Indicator (1) and record measurement in four places. Take average of readings and select the proper low/reverse reaction plate to achieve specifications.

LOW/REVERSE REACTION PLATE CHART















49. Install 2/4 clutch pack (1,2).

NOTE: The 2/4 Clutch Piston has bonded seals which are not individually serviceable. Seal replacement requires replacement of the piston assembly.











50. Orient 2/4 clutch return spring (2) to retainer (1).










51. Install 2/4 clutch return spring (2) into transaxle.










52. Using Compressor 5058A (1), compress 2/4 clutch return spring just enough to install snap ring.
53. Install snap ring (3).










54. Set up Dial Indicator (1), Indicator tip 6268 (3) and Hook tool (2), measure 2/4 clutch clearance. Press down on clutch pack with finger and zero dial indicator. 2/4 clutch pack clearance is 0.76-2.64 mm (0.030-0.104 in.). Set up indicator and record measurement in four places. Take average of readings. If clearance is outside this range, the clutch is assembled improperly. There is no adjustment for 2/4 clutch clearance.










55. Install rear sun gear and #7 needle bearing (1).










NOTE: The number seven needle bearing (1) has three anti-reversal tabs and is common with the number five and number two position. The orientation should allow the bearing to seat flat against the rear sun gear. A small amount of petrolatum can be used to hold the bearing to the rear sun gear.











56. Install front carrier/rear annulus assembly (2) and #6 needle bearing (1).










57. Install front sun gear assembly (1) and #4 thrust washer (2).










58. Select the thinnest #4 thrust plate thickness and install to input clutch assembly (1). Use petrolatum to retain.










59. Install input clutch assembly into position and verify that it is completely seated by viewing through input speed sensor hole. View through input speed sensor hole (2), if not as shown in picture, the input clutch assembly is not seated properly.










60. Remove oil pump O-ring (2). Be sure to reinstall oil pump O-ring after selecting the proper #4 thrust plate.










61. Install pump and gasket to transmission. Install oil pump-to-case bolts and tighten to 27 Nm (20 ft. lbs.).
62. Set up input shaft for measurement with Indicator Set C-3339A (2) and End Play Socket Set 8266A (1).
63. Measure the input shaft end play with the transaxle in the vertical position. Input shaft end play must be within 0.005 to 0.025 inch. For example, if end play reading is 0.055 inch, select # 4 Thrust Plate which is 0.071 to 0.074 thick. This should provide an input shaft end play reading of 0.020 inch which is within specifications.
64. Refer to the # 4 thrust plate chart to select the proper # 4 thrust plate.

# 4 THRUST PLATE CHART















65. Install input clutch assembly (1).










66. Install #1 caged needle bearing (1).










CAUTION: The cooler bypass valve must be replaced if transaxle failure has occurred. Do not attempt to reuse or clean old valve.

67. Install cooler bypass valve (1) with O-ring end towards rear of case.










68. Install oil pump gasket (1).










69. Install oil pump assembly (1).










70. Install oil pump-to-case bolts (1) and tighten to 27 Nm (20 ft. lbs.).