Operation CHARM: Car repair manuals for everyone.
Manuals through 2025 now available!

Our trusted friends have launched a new website named LEMON, which has newer manuals. It also contains all the CHARM manuals.

LEMON is the spiritual successor to CHARM, I recommend you try it!

Link: lemon-manuals.la or lemon-manuals.org.ua

(Some people have issue connecting. LEMON is investigating. For now, use Firefox or change your DNS server)

Or, hide this message: temporarily or permanently

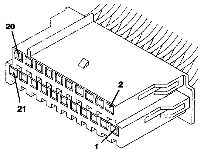
Vehicle Theft Alarm Module Connector (Natural)






CAV CIRCUIT FUNCTION
1 Z02 BK/LG Electronic Ground
2 D02 WT/BK Serial Data Bus ()
3 G70 BR/TN Hood Ajar
4 DO1 VT/BR Serial Data Bus (+)
5 G75 TN Left Front Door Ajar
6 GO5 DB/WT Ignition Feed (Run)
7 Not Used
8 G72 DG/OR Rt Frt Dr Key Cyl (Unarm)
9 G69 BK/OR Grd to Security Alarm Lp
10 Z02 BK/LG Electronic Ground
11 P36 PK/VT Power Door Locks (Unlock)
12 X03 BK/RD Grd Signal to Horn Relay
13 P38 OR/WT Power Door Locks (Lock)
14 L07 BK/YL Tail/Park Lamps
15 G73 LG/OR Lt Fit Dr Key Cyl (Unarm)
16 G74 TN/RD Right Front Door Ajar
17 Z02 BK/LG Electronic Ground
18 F30 RD Battery Feed
19 F13 DB Ignition Feed (Run/ACC)
20 Not Used
21 F33 PK/RD Tail/Park Lamp Feed