Operation CHARM: Car repair manuals for everyone.
Manuals through 2025 now available!

Our trusted friends have launched a new website named LEMON, which has newer manuals. It also contains all the CHARM manuals.

LEMON is the spiritual successor to CHARM, I recommend you try it!

Link: lemon-manuals.la or lemon-manuals.org.ua

(Some people have issue connecting. LEMON is investigating. For now, use Firefox or change your DNS server)

Or, hide this message: temporarily or permanently

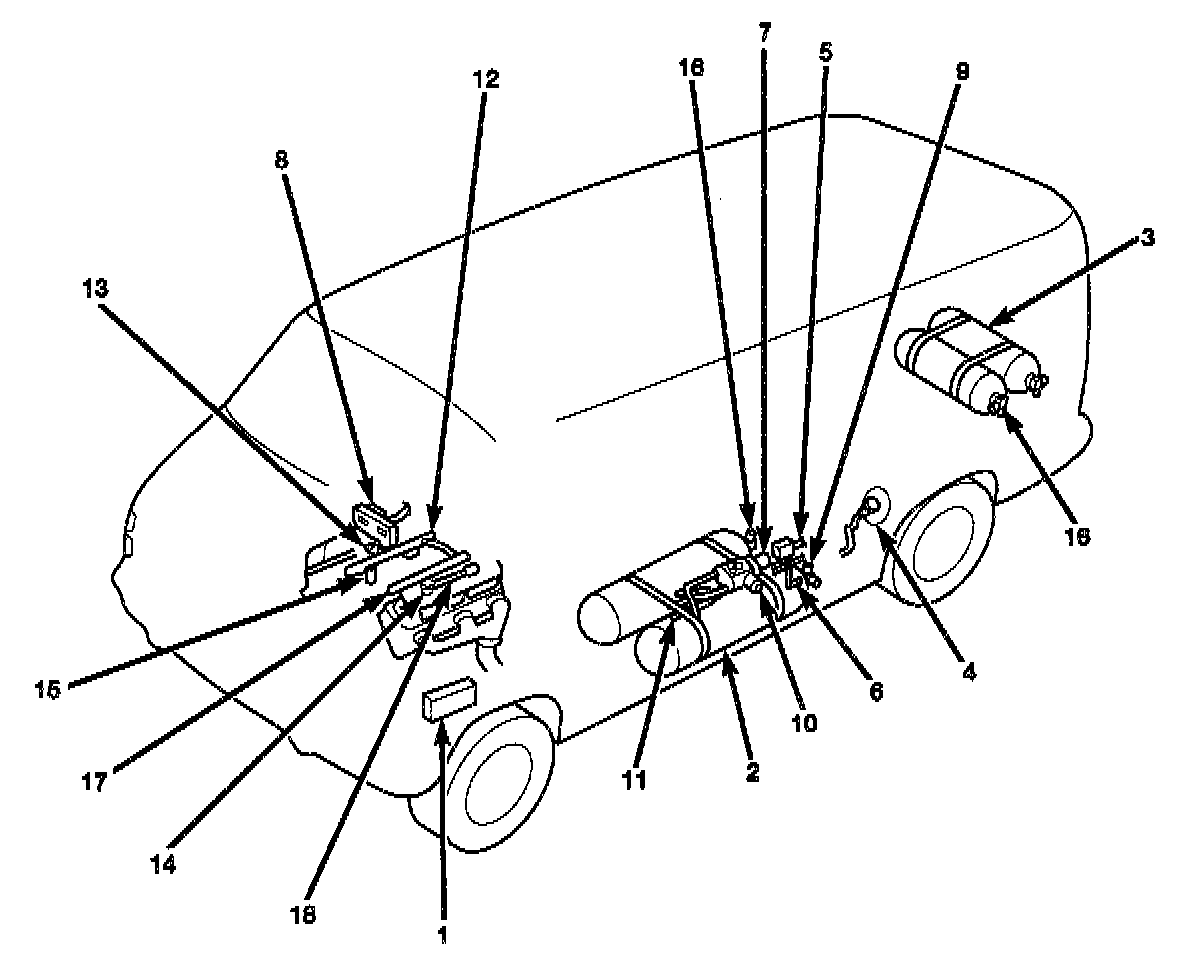
Powertrain Management: Locations

System Component Locations:





1. POWER DISTRIBUTION CENTER (RELAYS)
2. FUEL CYLINDERS (SIDE MOUNTED)
3. FUEL CYLINDERS (REAR)
4. FUEL FILL RECEPTACLE
5. ONE-WAY CHECK VALVE
6. MANUAL SHUT-OFF VALVE
7. FUEL PRESSURE REGULATOR
8. POWERTRAIN CONTROL MODULE
9. FUEL GAUGE PRESSURE SENSOR
10. HIGH PRESSURE FUEL SHUT-OFF SOLENOID
11. ENGINE COOLANT HOSES (2)
12. FUEL TEMPERATURE SENSOR
13. FUEL PRESSURE SENSOR
14. LOW-PRESSURE FUEL SHUT-OFF SOLENOID
15. FUEL INJECTORS (8)
16. FUEL CYLINDER CONTROL VALVES (AT EACH CYLINDER)
17. FUEL RAIL
18. LOW-PRESSURE FUEL LINE TO PRESSURE REGULATOR)