Operation CHARM: Car repair manuals for everyone.
Manuals through 2025 now available!

Our trusted friends have launched a new website named LEMON, which has newer manuals. It also contains all the CHARM manuals.

LEMON is the spiritual successor to CHARM, I recommend you try it!

Link: lemon-manuals.la or lemon-manuals.org.ua

(Some people have issue connecting. LEMON is investigating. For now, use Firefox or change your DNS server)

Or, hide this message: temporarily or permanently

Camshaft Position Sensor: Service and Repair

REPLACING WITH NEW SENSOR

REMOVAL
The camshaft position sensor (1) is located on the timing chain case above the water pump and under the throttle body.

If a new replacement camshaft position sensor is to be installed, use this procedure.




1. Disconnect the sensor wiring harness connector from sensor.
2. Remove the sensor mounting bolt.
3. Carefully pry the sensor from the timing chain case/cover in a rocking action with two small screwdrivers.
4. Remove the sensor from vehicle.

INSTALLATION
The camshaft position sensor (2) is located on the timing chain case above the water pump and under the throttle body.




1. Apply a small amount of engine oil to the sensor O-ring.

A low (step down) and high (step up) area are machined (1) into the camshaft drive gear (3). The sensor is positioned in the timing gear cover so that a small air gap exists between the face of sensor and the high machined area of cam gear.

Before the sensor is installed, the cam gear may have to be rotated. This is to allow the high machined area (step up) on the gear to be directly in front of the sensor mounting hole opening on the timing gear cover.

Do not install sensor with gear positioned at low area. When the engine is started, the sensor will be broken.




2. Using a 1/2 in. wide metal ruler, measure the distance from the cam gear to the face of the sensor mounting hole opening on the timing gear cover.
3. If the dimension is approximately 1-15/32 inches or less, it is OK to install sensor.
4. If the dimension is approximately 1-5/8 inches or more, the cam gear will have to be rotated.
5. Attach a socket to the vibration damper mounting bolt and rotate engine until the 1-15/32 inch dimension is attained.
6. Install the sensor into the timing case/cover with a slight rocking action. Do not twist the sensor into position as damage to the O-ring may result. Push the sensor all the way into the cover until the rib material on the sensor contacts the camshaft gear.
7. Install the mounting bolt and tighten to 10.7 N.m (95 in. lbs.) torque.
8. Connect sensor wiring harness to engine harness.

When the engine is started, the rib material will be sheared off the face of sensor. This will automatically set sensor air gap.

REPLACING OLD SENSOR WITH ORIGINAL

REMOVAL
The camshaft position sensor is located on the timing chain case above the water pump and under the throttle body.

If the original camshaft position sensor is to be removed and installed, such as when servicing the timing chain, timing gears or timing chain cover, use this procedure.




1. Disconnect the sensor harness connector from the sensor.
2. Scribe the sensor for location depth.
3. Remove the sensor mounting bolt.
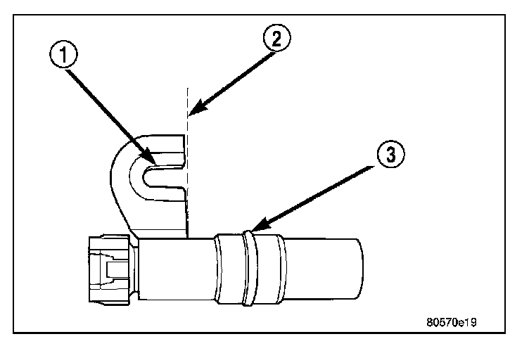
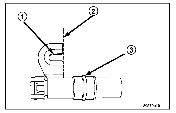
4. Carefully pry the sensor (1) from the timing chain case/cover in a rocking action with two small screwdrivers.
5. Remove the sensor (1) from vehicle.
6. Check condition of sensor O-ring (3).

INSTALLATION
The camshaft position sensor is located on the timing chain case above the water pump and under the throttle body.

When installing a used camshaft position sensor, the sensor depth must be adjusted to prevent contact with the camshaft gear (sprocket).




1. Apply a small amount of engine oil to the sensor O-ring.

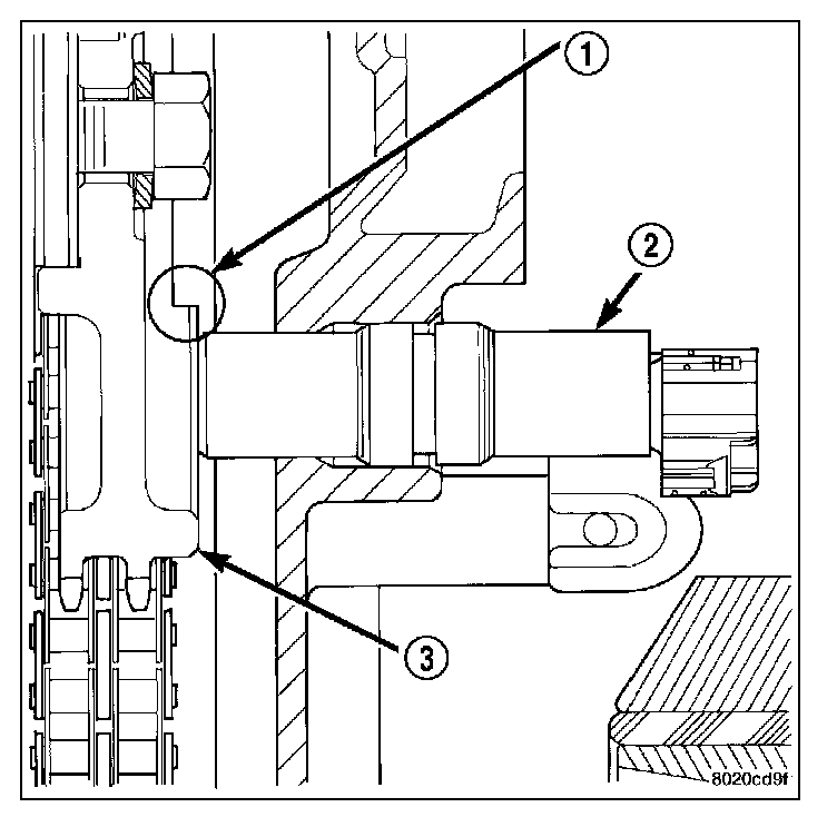
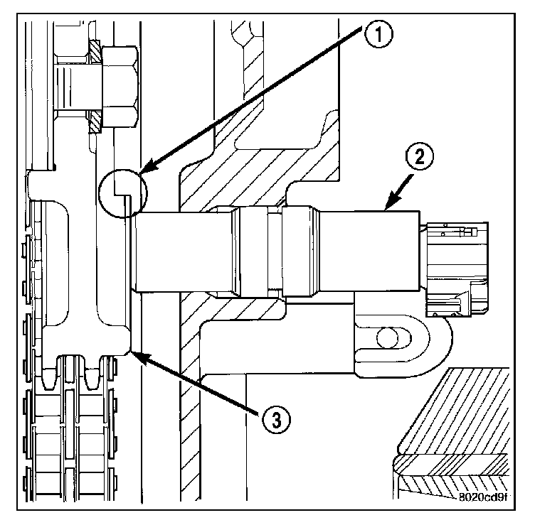
A low and high area are machined into the camshaft drive gear. The sensor (2) is positioned in the timing gear cover so that a small air gap exists between the face of sensor and the high machined area of cam gear.

Before the sensor is installed, the cam gear may have to be rotated. This is to allow the high machined area on the gear to be directly in front of the sensor mounting hole opening on the timing gear cover.

Do not install sensor with gear positioned at low area. When the engine is started, the sensor will be broken.




2. Using a 1/2 in. wide metal ruler, measure the distance from the cam gear to the face of the sensor mounting hole opening on the timing gear cover.
3. If the dimension is approximately 1-15/32 inches or less, it is OK to install sensor.
4. If the dimension is approximately 1-5/8 inches or more, the cam gear will have to be rotated.
5. Attach a socket to the vibration damper mounting bolt and rotate engine until the 1-15/32 inch dimension is attained.
6. Install the sensor into the timing case/cover with a slight rocking action until the sensor is aligned to scribe line. The paper spacer can be used if reinstalling a used sensor.
7. Install sensor mounting bolt and tighten to 10.7 N.m (95 in. lbs.) torque.
8. Connect engine wiring harness to sensor.