Operation CHARM: Car repair manuals for everyone.
Manuals through 2025 now available!

Our trusted friends have launched a new website named LEMON, which has newer manuals. It also contains all the CHARM manuals.

LEMON is the spiritual successor to CHARM, I recommend you try it!

Link: lemon-manuals.la or lemon-manuals.org.ua

(Some people have issue connecting. LEMON is investigating. For now, use Firefox or change your DNS server)

Or, hide this message: temporarily or permanently

Ride Height



CURB HEIGHT MEASUREMENT (LD)

The wheel alignment is to be checked and all alignment adjustments made with the vehicle at its required curb height specification.

Vehicle height is to be checked with the vehicle on a flat, level surface, preferably a vehicle alignment rack. The tires are to be inflated to the recommended pressure. All tires are to be the same size as standard equipment. Vehicle height is checked with the fuel tank full of fuel, and no passenger or luggage compartment load.

Inspect the vehicle for bent or weak suspension components. Compare the parts tag on the suspect coil spring(s) to the parts book and the vehicle sales code, checking for a match. Once removed from the vehicle, compare the coil spring height to a correct new or known good coil spring. The heights should vary it the suspect spring is weak.






1. Front - On each side of the vehicle, measure the distance from the center of the rear lower control arm bolt (1) to the ground (2) Record the measurement. Next measure the distance from the spindle center (3) to the ground (4) Record the measurement.
2. Take the two measurements and subtract them to get the ride height specification.






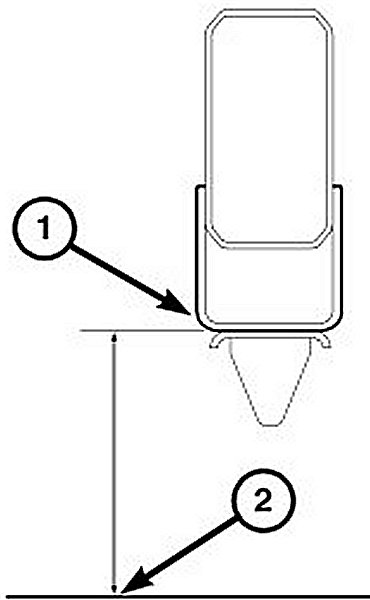
3. Rear 4X2 LD - On each side of the vehicle, measure the distance at the axle tube (1) to the jounce bumper flange (2).
4. Rear 4X4 LD - On each side of the vehicle, measure the distance at the jounce pad welded to the axle tube (1) to the jounce bumper flange (2).






5. Compare the measurements to the specifications listed in the following Curb Height Specifications chart.

CURB HEIGHT MEASUREMENT (HD)

The wheel alignment is to be checked and all alignment adjustments made with the vehicle at its required curb height specification.

Vehicle height is to be checked with the vehicle on a flat, level surface, preferably a vehicle alignment rack. The tires are to be inflated to the recommended pressure. All tires are to be the same size as standard equipment. Vehicle height is checked with the fuel tank full of fuel, and no passenger or luggage compartment load.

Inspect the vehicle for bent or weak suspension components. Compare the parts tag on the suspect coil spring(s) to the parts book and the vehicle sales code, checking for a match. Once removed from the vehicle, compare the coil spring height to a correct new or known good coil spring. The heights should vary if the suspect spring is.






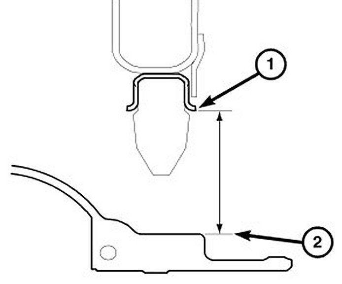
1. Front 4X2 On each side of the vehicle, measure the distance from the top of the jounce bumper flange (2) to the bottom of the frame rail (1).






2. Front 4X4 On each side of the vehicle, measure the distance from the top of the axle (2) to the bottom of the jounce bumper flange (1).






3. Rear ALL - On each side of the vehicle, measure the distance at the top of the axle tube (2) to the bottom of the frame rail (1).











4. Compare the measurements to the specifications listed in the following Curb Height Specifications chart.