Operation CHARM: Car repair manuals for everyone.
Manuals through 2025 now available!

Our trusted friends have launched a new website named LEMON, which has newer manuals. It also contains all the CHARM manuals.

LEMON is the spiritual successor to CHARM, I recommend you try it!

Link: lemon-manuals.la or lemon-manuals.org.ua

(Some people have issue connecting. LEMON is investigating. For now, use Firefox or change your DNS server)

Or, hide this message: temporarily or permanently

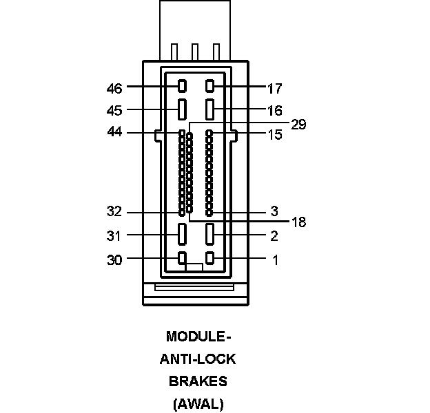
Electronic Brake Control Module




Component ID: 154
Component : MODULE-ANTI-LOCK BRAKES

Connector:
Name : MODULE-ANTI-LOCK BRAKES
Color :
# of pins : 46
Qualifier : (AWAL)




Pin Circuit Description
1 - -
2 A111 18DG/RD FUSED B(+)
3 D65 20WT/LG CAN C BUS(+)
4 - -
5 - -
6 - -
7 - -
8 - -
9 - -
10 - -
11 - -
12 B9 20DG/LG LEFT FRONT WHEEL SPEED SENSOR SUPPLY
13 B8 20DG/TN LEFT FRONT WHEEL SPEED SENSOR SIGNAL
14 - -
15 - -
16 Z923 18BK GROUND
17 - -
18 D64 20WT/LB CAN C BUS (-)
19 - -
20 - -
21 - -
22 - -
23 - -
24 - -
25 - -
26 B7 20DG/VT RIGHT FRONT WHEEL SPEED SENSOR SUPPLY
27 B6 20DG/WT RIGHT FRONT WHEEL SPEED SENSOR SIGNAL
28 - -
29 - -
30 - -
31 A107 12TN/RD FUSED B(+)
32 F500 20DG/PK FUSED RUN RELAY OUTPUT
33 - -
34 - -
35 - -
36 - -
37 - -
38 - -
39 - -
40 - -
41 B22 20DG/YL REAR WHEEL SPEED SENSOR SIGNAL
42 B222 20DG/WT REAR WHEEL SPEED SENSOR SUPPLY
43 - -
44 - -
45 Z107 12BK/DG GROUND
46 - -

Component Location - 6






Connector:
Name : MODULE-ANTI-LOCK BRAKES
Color : BLACK
# of pins : 14
Qualifier : (RWAL)




Pin Circuit Description
1 B222 20DG/WT REAR WHEEL SPEED SENSOR SUPPLY
2 D65 20WT/LG CAN C BUS (+)
3 D64 20WT/LB CAN C BUS (-)
4 F500 20DG/PK FUSED RUN RELAY OUTPUT
5 B9 20DG/LG LEFT FRONT WHEEL SPEED SENSOR SUPPLY
6 Z107 12BK/DG GROUND
7 A111 18DG/RD FUSED B(+)
8 B22 20DG/YL REAR WHEEL SPEED SENSOR SIGNAL
9 - -
10 B8 20DG/TN LEFT FRONT WHEEL SPEED SENSOR SIGNAL
11 - -
12 - -
13 - -
14 - -

Component Location - 6