Anti-Lock Brake System Module - Removal
REMOVAL
CAUTION: When removing ABM from HCU, be sure to completely separate the two components (approximately 38 mm (1.5 in.) before removing ABM. Otherwise, damage to the pressure sensor or Pump Motor connection may result requiring HCU replacement. Do not to touch the sensor terminals on the HCU side or the contact pads on the ABM side as this may result in contamination and issues in the future.
NOTE: If the ABM needs to be replaced, the rear axle type and tire revolutions per mile must be programed into the new ABM. For axle type refer to Differential and Driveline. For tire revolutions per mile,Specifications . To program the ABM refer to the Appropriate Diagnostic Service Information.
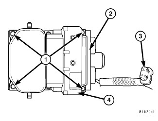
1. Disconnect the pump electrical connector (3) from the HCU (2).
2. Remove the module mounting screws (1).
3. Remove the module (1) from the HCU (2).