Operation CHARM: Car repair manuals for everyone.
Manuals through 2025 now available!

Our trusted friends have launched a new website named LEMON, which has newer manuals. It also contains all the CHARM manuals.

LEMON is the spiritual successor to CHARM, I recommend you try it!

Link: lemon-manuals.la or lemon-manuals.org.ua

(Some people have issue connecting. LEMON is investigating. For now, use Firefox or change your DNS server)

Or, hide this message: temporarily or permanently

Dynamic Toe Pattern Adjustment






DYNAMIC TOE PATTERN ADJUSTMENT

This vehicle's suspension system is designed to vary the wheel toe pattern according to the vehicle ride posture to keep the wheels pointed in the proper direction at all times. The four wheel independent suspension alignment must be correct to assure proper road handling. The frame and suspension components are calibrated at the assembly plant and should not require adjustment unless the vehicle has collision damage. This section will cover procedures for correcting improper frame, steering gear, and rear toe link alignment that would affect the wheel toe pattern.










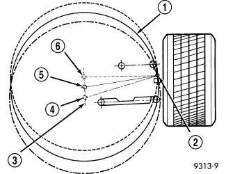
Wheel toe pattern is regulated by the vertical positioning of the inner tie rod pivot (3) in relation to the orbital swing of the wheel spindle (1). Wheel toe settings have no effect on toe pattern. When the suspension is fully compressed and then extended with the tie rod disconnected from the spindle, the spindle makes an arc in space without altering the toe pattern. When the arc of the spindle is extended into a full circle and the inner tie rod end is positioned in the center of the circle, the toe pattern cannot change. When the inner tie rod is raised or lowered from the center of the true circle of the spindle arc, the toe pattern will vary. When the suspension is compressed (jounce), the wheel toe should change from normal riding height. When the suspension is extended (rebound), wheel toe should move in the opposite direction. Front suspension jounce should cause the wheels to toe out; rebound should cause the wheels to toe in. Rear suspension jounce should cause the wheels to toe in; rebound should cause the wheels to toe out.

TOE PATTERN PREPARATION

Before toe pattern can be inspected, vehicle design height, suspension settings and design bushing position must be established.

1. Verify that all fluid reservoirs and fuel tank is full.
2. Position the vehicle on a known level surface (suspension or frame alignment rack).
3. Remove all objects from the vehicle that were not installed at the assembly plant.
4. Inflate tires to the specification found on the tire inflation sticker (placard) on the left door end frame.
5. Place vehicle on wheel alignment rack/hoist.
6. Remove belly pan from frame. Belly Pan - Removal
7. Verify vehicle design height, caster, and camber are within specifications and toe is set to Preferred Specifications. Service and Repair.

TOE PATTERN MEASUREMENT

NOTE: Toe Pattern Preparation procedure must be performed before Toe Pattern Measurement.

1. Raise vehicle by frame (near PLP holes but allowing room for Suspension Height Gages, Special Tools 6914 and 8897, installation later).
2. Remove all four wheels.
3. Disconnect front and rear stabilizer bar links from lower control arms. Front Stabilizer Bar Link - Removal Rear Suspension Stabilizer Bar Link - Removal
4. Remove front and rear coil-over-shock assemblies.Removal Rear Shock Absorber, Coil-Over - Removal
5. Install wheels.
6. Install Suspension Height Gages, Special Tools 6914 and 8897, and lower vehicle to design height. Service and Repair
7. With vehicle at design height, measure and record front and rear toe at each wheel.
8. Raise front and rear of vehicle 25 mm (1 in.) above design height (Rebound). Measure and record front and rear toe at each wheel.
9. Raise front and rear of vehicle 50 mm (2 in.) above design height (Rebound). Measure and record front and rear toe at each wheel.
10. Return vehicle to design height.
11. Lower front and rear of vehicle 25 mm (1 in.) below design height (Jounce). Measure and record front and rear toe at each wheel.
12. Lower front and rear of vehicle 50 mm (2 in.) below design height (Jounce). Measure and record front and rear toe at each wheel.

NOTE: It may not be possible to obtain a wheel toe reading with the vehicle lowered 50 mm (2 in.) below design. If not, measure at nearest attainable millimeter mark and record as such. It can be drawn in on Dynamic Toe Pattern Graph and used along with other plotted readings from other height settings to determine toe pattern arc.

NOTE: Design Arc and Range guidelines (specifications) printed in Dynamic Toe Pattern Graph are for each individual wheel. Recorded measurements plotted on graph should also be drawn in per wheel.





13. Plot toe readings for front suspension on Dynamic Toe Pattern Graph provided. If toe pattern arc is within allotted range, front toe pattern is within limits. If toe pattern is not within allotted range, steering gear must be raised or lowered to achieve proper toe pattern.
14. Plot toe readings for rear suspension on Dynamic Toe Pattern Graph provided. If toe pattern arc is within allotted range, rear toe pattern is within limits. If toe pattern is not within allotted range, toe links must be raised or lowered to achieve proper toe pattern.

TOE PATTERN ADJUSTMENT

Once both front and rear toe pattern arcs have been plotted, compare each with the corresponding Design Arc and Range shown in the graph. If either plotted arc falls outside the allotted range at any point, toe pattern adjustment is necessary.

If the front toe pattern requires adjustment, the steering gear can be raised using split shims. If the steering gear must be lowered, the gear mounts are misaligned and will require alignment.

If the rear toe pattern requires adjustment, the rear toe links can be raised or lowered using toe link shims. The rear toe links are mounted to the frame in vertical elongated holes that allow the toe link to be moved up or down. Toe link shims in increments of 2 mm (0.080 in.) above or below design (nominal) are used to position the toe link.

A 2 mm (0.080 in.) change in steering gear or toe link height will effect the toe pattern by about 0.15 degrees when measured from the design height (nominal) to either jounce or rebound positions. It is typical for a shim to have about 1 mm (0.040 in.) up and down play.

FRONT TOE PATTERN

On the front of the vehicle, the tie rods are located in front of the spindles. If the steering gear is raised, toe-in will increase on rebound and toe-out will increase on jounce. If the steering gear is lowered, the opposite will occur. For information on steering gear mounting, Steering Gear - Removal.

REAR TOE PATTERN

On the rear of the vehicle, the tie rods (toe links) are located rearward of the spindles. If a toe link is raised, toe-out will increase on rebound and toe-in will increase on jounce. If a toe link is lowered, the opposite will occur. For information on toe link mounting, Rear Suspension Toe Link - Removal.

SUSPENSION COMPONENT INSTALLATION

After toe pattern has been measured and any necessary adjustments made, perform the following:

1. Install coil-over-shock assemblies. Installation , Rear Shock Absorber, Coil-Over - Installation
2. Connect stabilizer bar links to lower control arms. Front Stabilizer Bar Link - Installation Rear Suspension Stabilizer Bar Link - Installation
3. Verify and adjust wheel alignment toe settings as necessary. Service and Repair
4. Install belly pan. Belly Pan - Removal
5. Road test vehicle to determine if condition is corrected.